Curiosii for ever!: Car repair manuals for everyone.

Seat Belt Control Module: Testing and Inspection

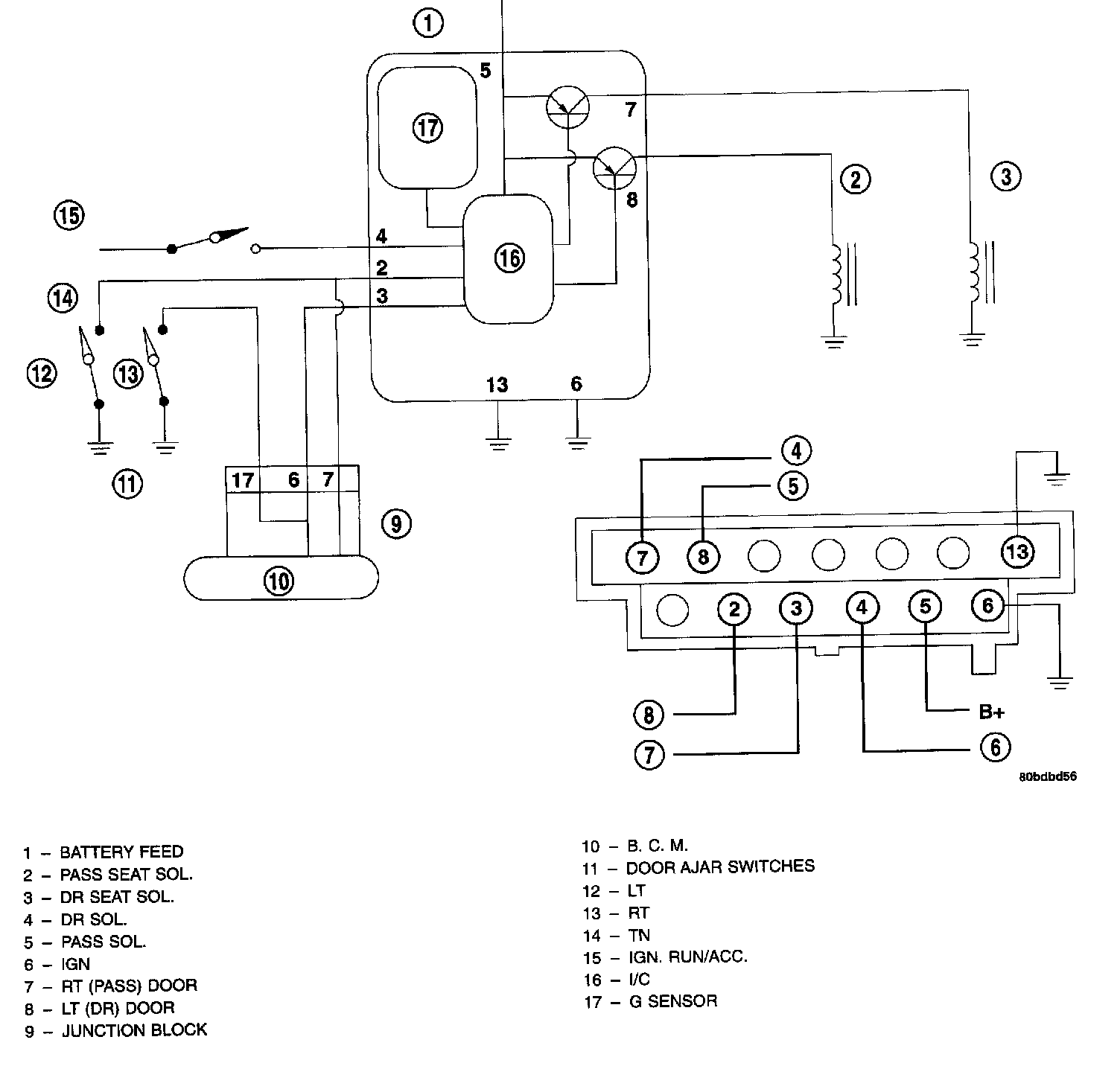
Seatbelt Control Timer Module System Schematic:




The Seatbelt Control Timer Module (SCTM) is connected to the Body Control Module (BCM). Problems with the circuitry will be indicated by the seatbelt warning indicator lamp.

When the G-sensor is at rest, current flows to the solenoids holding them back. The seatbelt is movable.

When the sensor reacts to the force of impact, it stops current flow to the solenoids. The solenoids close in milliseconds locking the seatbelts.

The timer allows current to flow through the sensor and the solenoids for 30 minutes after the ignition is turned off. The 30-minute limit stops excessive battery drain while the engine is not running.

Connected to the Door Ajar switches, the timer closes the circuit when a door opens, and holds for 30 minutes after the door closes with the ignition off. This is necessary so the seatbelts can be managed after the ignition has been off for more than 30 minutes. Turning the key to the ACCESSORY, RUN, OR RUN/START position will also cause the timer to activate the solenoids.

Diagnostic Mode
For service purposes on vehicles equipped with a SCTM, the 30 minutes can be reduced to 30 seconds by following this procedure beginning with the ignition OFF, and the driver's door closed:

Cycle the ignition switch (key ON-key OFF) three times. Then, open and close the drover door three times.

NOTE: If the vehicle is tilted to a 45 degree angle, or if it is subjected to acceleration or deceleration of 0.7G or more in any direction, the G-sensor will lock the seatbelts.

Detectable Faults
The SCTM affords limited diagnostic capability. Following is a list of detectable faults:
- Solenoid short to ground
- Solenoid Open
- Solenoid short to Battery
- No Acceleration Last Ten Timer Cycles (One Timer Cycle = Key ON plus 30 minute minimum Key OFF)

The seatbelts themselves can demonstrate problems. For example:
- Both Locked all the time
- Both locked with ignition OFF but not timed out
- Both seatbelts function properly when ignition is ON or passenger door is opened but not when driver door is opened
- Both seatbelts function properly when ignition is ON or driver door is opened but not when passenger door is opened
- Driver seatbelt locked, passenger seatbelt unlocked
- Passenger seatbelt locked, driver seatbelt unlocked

These problems can be diagnosed using a DVOM.