Curiosii for ever!
: Car repair manuals for everyone.
Home
>>
Chrysler
>>
2000
>>
Sebring Convertible V6-2.5L VIN H
>>
Repair and Diagnosis
>>
Power and Ground Distribution
>>
Circuit Breaker
>>
Locations
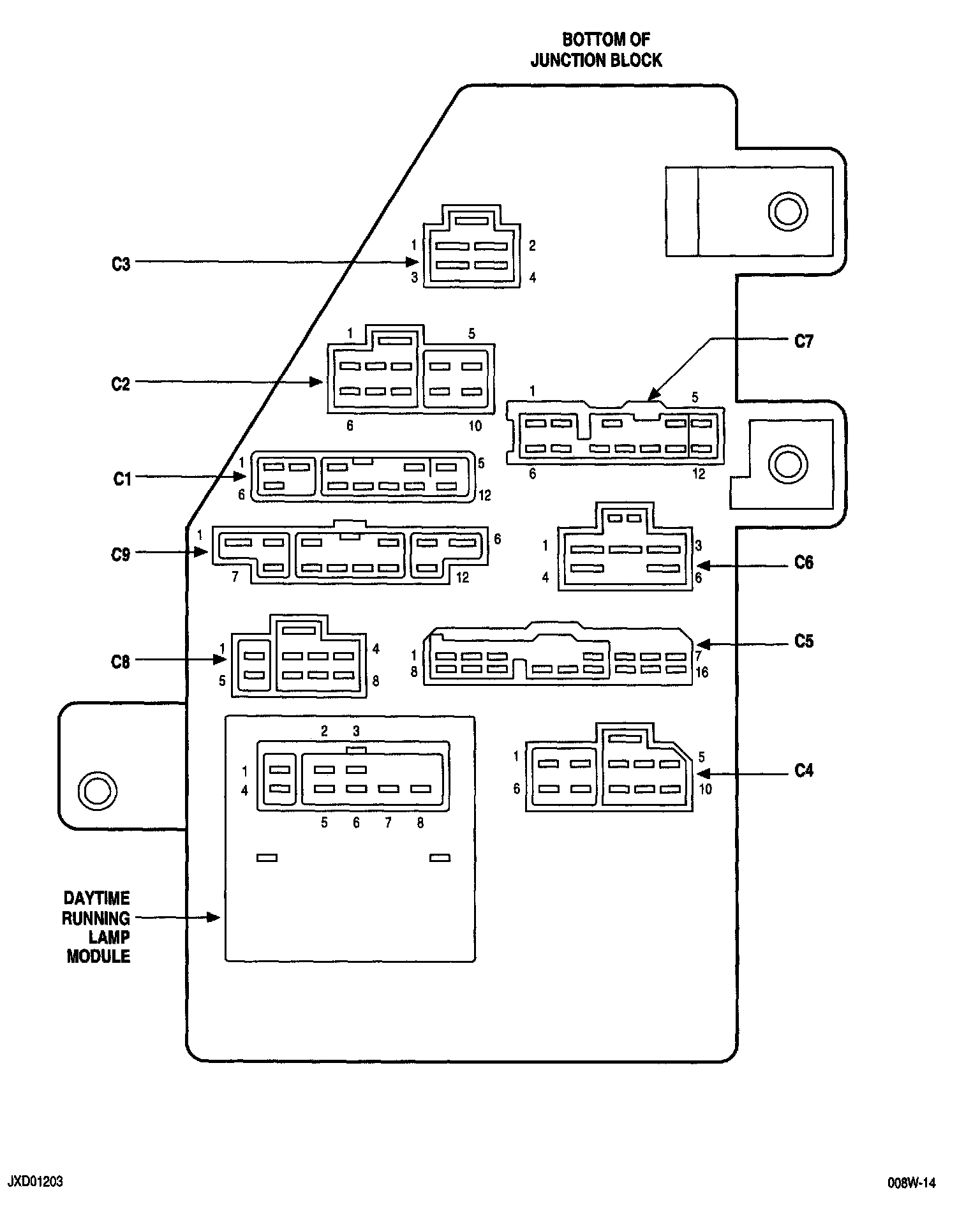
Circuit Breaker: Locations
8w-12-2:
8w-12-3: