Curiosii for ever!
: Car repair manuals for everyone.
Home
>>
Chrysler
>>
1995
>>
Cirrus V6-2.5L VIN H
>>
Repair and Diagnosis
>>
Powertrain Management
>>
Relays and Modules - Powertrain Management
>>
Relays and Modules - Computers and Control Systems
>>
Main Relay (Computer/Fuel System)
>>
Diagrams
>>
Electrical Diagrams
>>
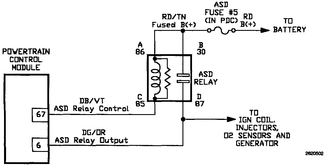
ASD Relay Output Circuit
ASD Relay Output Circuit
ASD Relay Output Circuit: