Curiosii for ever!
: Car repair manuals for everyone.
Home
>>
Chrysler Truck
>>
2009
>>
PT Cruiser L4-2.4L
>>
Repair and Diagnosis
>>
Diagrams
>>
Connector Views
>>
Power Distribution Module
>>
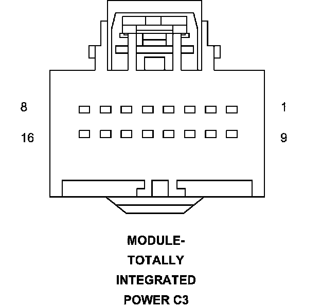
Totally Integrated Power Module C3 (Headlamp And Dash) 16 Way
Totally Integrated Power Module C3 (Headlamp And Dash) 16 Way
Connector C3 - (HEADLAMP AND DASH) 16 WAY
MODULE-TOTALLY INTEGRATED POWER - (HEADLAMP AND DASH) 16 WAY