Curiosii for ever!
: Car repair manuals for everyone.
Home
>>
Chrysler Truck
>>
2009
>>
PT Cruiser L4-2.4L
>>
Repair and Diagnosis
>>
Diagrams
>>
Connector Views
>>
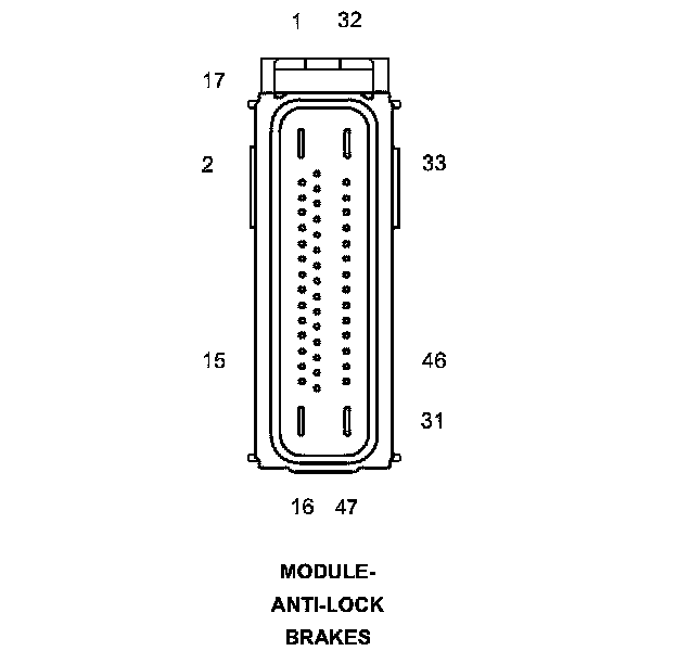
Electronic Brake Control Module
Electronic Brake Control Module
Connector - (HEADLAMP AND DASH) 47 WAY
MODULE-ANTI-LOCK BRAKES - (HEADLAMP AND DASH) 47 WAY