Curiosii for ever!: Car repair manuals for everyone.

Power Distribution Module




Component ID: 177
Component : MODULE-TOTALLY INTEGRATED POWER

Connector:
Name : MODULE-TOTALLY INTEGRATED POWER C1
Color :
# of pins : 13




Pin Description Circuit
1 REAR WASHER PUMP MOTOR CONTROL W20 18BR/YL
2 FRONT WASHER PUMP MOTOR CONTROL W10 18BR
3 IGNITION SWITCH OUTPUT (RUN-START) F20 20PK/WT
4 - -
5 - -
6 CABIN HEATER RELAY NO. 2 CONTROL K232 20BR
7 CABIN HEATER RELAY NO. 1 CONTROL K132 20DB/LB
8 - -
9 - -
10 A/C CLUTCH CONTROL C28 20DB/LG
11 - -
12 BRAKE FLUID LEVEL SWITCH SENSE B20 20DG/OR
13 GROUND Z924 20BK


Connector:
Name : MODULE-TOTALLY INTEGRATED POWER C10
Color :
# of pins : 8




Pin Description Circuit
1 - -
2 - -
3 TRANSMISSION CONTROL OUTPUT T16 16YL/OR
4 - -
5 FUSED ASD RELAY OUTPUT K343 16BR/YL
6 FUSED ASD RELAY OUTPUT K344 16BR/GY
7 A/C CLUTCH CONTROL OUTPUT C3 20DB/YL
8 STARTER RELAY OUTPUT T40 16YL/TN


Connector:
Name : MODULE-TOTALLY INTEGRATED POWER C11
Color :
# of pins : 22




Pin Description Circuit
1 FUSED ASD RELAY OUTPUT K342 14BR/WT
2 - -
3 FUSED B(+) A937 14RD/GY
3 FUSED B(+) A937 14RD
4 - -
5 FRONT FOG LAMP CONTROL OUTPUT L89 18WT/YL
6 FRONT FOG LAMP CONTROL OUTPUT L90 18WT/OR
7 LOW SPEED RAD FAN CONTROL N201 20DB/LG
8 HORN CONTROL OUTPUT X22 20GY/LB
9 HORN CONTROL OUTPUT X21 20GY/YL
10 FRONT WIPER HIGH SPEED CONTROL OUTPUT W4 16BR/OR
11 FUSED B(+) A935 20RD/GY
12 FRONT WIPER LOW SPEED CONTROL OUTPUT W3 16BR/WT
13 - -
14 FUSED B(+) (VALVE) A922 12RD
15 - -
16 - -
17 FUSED B(+) (PUMP) A921 12RD
18 - -
19 FUSED B(+) A931 18BR/WT
20 - -
21 GROUND Z971 12BK
22 HIGH SPEED RAD FAN CONTROL N112 20DB/OR


Connector:
Name : MODULE-TOTALLY INTEGRATED POWER C2
Color :
# of pins : 14




Pin Description Circuit
1 FUSED IGNITION SWITCH OUTPUT (OFF-RUN-START) F901 20PK
2 - -
3 - -
4 FUEL PUMP CONTROL K31 20BR
5 FRONT WIPER PARK SWITCH SENSE W7 20BR/GY
6 GROUND Z924 20BK
7 - -
8 - -
9 - -
10 TRANSMISSION CONTROL T15 20YL/BR
11 HOOD AJAR SWITCH SENSE G70 20BR/TN
12 - -
13 GROUND Z927 20BK
14 - -


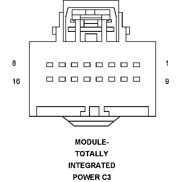
Connector:
Name : MODULE-TOTALLY INTEGRATED POWER C3
Color :
# of pins : 16




Pin Description Circuit
1 CAN C BUS (+) D65 20WT/LG
2 DIAGNOSTIC CAN C (+) D72 20WT/LB
3 CAN B BUS (+) D55 20WT/OR
4 LEFT REAR TURN SIGNAL L63 20WT/DG
5 FUSED IGNITION SWITCH OUTPUT (UNLOCK-RUN-START) F902 20PK
6 RIGHT REAR TURN SIGNAL L62 20WT/YL
7 PRIMARY BRAKE SWITCH SIGNAL L53 20DG/WT
7 BRAKE LAMP SWITCH OUTPUT L53 20DG/WT
8 PARK LAMP CONTROL OUTPUT L217 20WT/VT
9 CAN C BUS (-) D64 20WT/LB
10 DIAGNOSTIC CAN C (-) D71 20WT/DB
11 CAN B BUS (-) D54 20WT
12 - -
13 STOP LAMP CONTROL OUTPUT L55 20OR
14 - -
15 - -
16 - -


Connector:
Name : MODULE-TOTALLY INTEGRATED POWER C4
Color :
# of pins : 10




Pin Description Circuit
1 LEFT TURN SIGNAL L61 20LG
Pin Description Circuit
1 LEFT TURN SIGNAL L61 20WT/LG
2 RIGHT TURN SIGNAL L60 20TN
2 RIGHT TURN SIGNAL L60 20WT/TN
3 HIGH BEAM OUTPUT L34 20WT/GY
4 LEFT LOW BEAM OUTPUT L43 20VT
5 - -
6 BATTERY TEMP SIGNAL K25 20DB/VT
7 BATTERY TEMP RETURN K91 20DB/YL
8 AAT SIGNAL G31 20VT/LG
9 AAT RETURN G931 20VT/BR
10 - -


Connector:
Name : MODULE-TOTALLY INTEGRATED POWER C5
Color :
# of pins : 14




Pin Description Circuit
1 HEADLAMP SWITCH OUTPUT L70 20WT/GY
2 RIGHT TURN SIGNAL (OUT) L160 20WT/TN
3 RIGHT LOW BEAM OUTPUT L44 20VT/RD
4 HIGH BEAM OUTPUT L33 20WT/LG
5 LEFT TURN SIGNAL (OUT) L161 20WT/LG
6 HEADLAMP SWITCH OUTPUT L7 20WT/YL
7 - -
8 BACKUP LAMP SWITCH SIGNAL T22 20YL/VT
9 HEADLAMP LEVEL SENSOR SIGNAL L131 20WT/LG
10 HEADLAMP LEVEL SENSOR SIGNAL L132 20LG/WT
11 - -
12 - -
13 - -
14 FUSED IGNITION SWITCH OUTPUT (START) F962 20PK/LB



Connector:
Name : MODULE-TOTALLY INTEGRATED POWER C6
Color :
# of pins : 13




Pin Description Circuit
1 - -
2 - -
3 - -
4 - -
5 REAR WIPER MOTOR CONTROL W13 20BR/LG
6 - -
7 - -
8 - -
9 - -
10 - -
11 - -
12 REAR FOG LAMP CONTROL OUTPUT L239 20WT/DG
13 - -


Connector:
Name : MODULE-TOTALLY INTEGRATED POWER C7
Color :
# of pins : 22




Pin Description Circuit
1 FUSED B(+) A925 12RD
2 - -
3 FUSED B(+) A924 18RD
4 FUSED B(+) A952 20RD
5 FUSED IGNITION SWITCH OUTPUT (RUN-START) F200 20PK/LB
6 - -
7 FUSED IGNITION SWITCH OUTPUT (RUN) F100 18PK/VT
8 FUSED RUN/ACCESSORY CONTROL OUTPUT A929 12RD/DB
9 FUSED B(+) A933 18RD
10 - -
11 FUEL PUMP CONTROL OUTPUT N1 16DB/OR
12 - -
13 FUSED B(+) A417 20RD
14 FUSED B(+) A950 18RD/WT
15 FUSED B(+) (I.O.D.) A418 18PK/YL
16 FUSED B(+) (I.O.D.) A412 18RD
17 FUSED B(+) A16 10RD/BR
18 DOOR LOCK POWER-FUSED B(+) A932 16RD/TN
19 FUSED IGNITION SWITCH OUTPUT (RUN-ACC) F996 20PK/OR
20 - -
21 FUSED IGNITION SWITCH OUTPUT (RUN-ACC) F981 16PK/YL
22 - -


Connector:
Name : MODULE-TOTALLY INTEGRATED POWER C8
Color :
# of pins : 22




Pin Description Circuit
1 BLOWER MOTOR CONTROL C7 12LB/BK
2 FUSED B(+) A927 16RD/YL
3 FUSED B(+) (I.O.D.) A415 20RD/TN
4 FUSED B(+) (I.O.D.) A414 20RD
5 - -
6 FUSED B(+) A420 16RD/DG
7 FUSED B(+) A14 12RD/YL
8 FUSED IGNITION SWITCH OUTPUT (RUN) F937 16PK/TN
9 FUSED REAR WINDOW DEFOGGER CONTROL OUTPUT C16 20DB/GY
10 - -
11 BACKUP LAMP SWITCH OUTPUT L1 20VT/BK
12 FUSED IGNITION SWITCH OUTPUT (RUN) F929 20YL
13 FUSED B(+) (I.O.D.) A411 20RD/BK
14 FUSED B(+) A419 16RD/WT
15 - -
16 - -
17 REAR WINDOW DEFOGGER CONTROL OUTPUT C515 10LB/OR
18 FUSED B(+) (I.O.D.) A413 18RD/DG
19 - -
20 FUSED IGNITION SWITCH OUTPUT (RUN-ACC) F985 16YL/RD
21 FUSED IGNITION SWITCH OUTPUT (RUN/ACC) F986 18YL/WT
22 ASD RELAY OUTPUT K542 12BR


Connector:
Name : MODULE-TOTALLY INTEGRATED POWER-EYELET
Color :
# of pins : 1
Qualifier : (DIESEL)




Pin Description Circuit
1 B(+) A0 4RD



Connector:
Name : MODULE-TOTALLY INTEGRATED POWER-EYELET
Color :
# of pins : 1
Qualifier : (GAS)




Pin Description Circuit
1 B(+) A0 6RD

Component Location - 3




Component Location - 17




Component Location - 4




Component Location - 5




Component Location - 10




Component Location - 13




Component Location - 6