Curiosii for ever!: Car repair manuals for everyone.

Electronic Brake Control Module




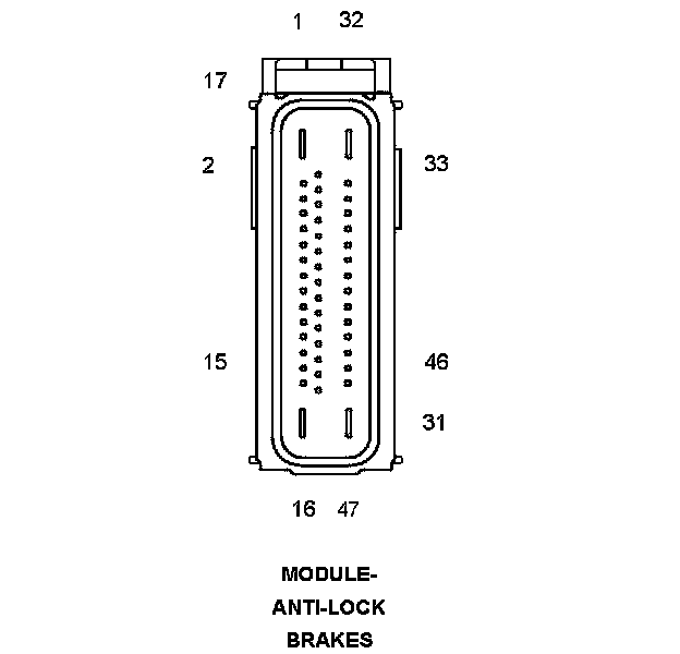
Component ID: 159
Component : MODULE-ANTI-LOCK BRAKES

Connector:
Name : MODULE-ANTI-LOCK BRAKES
Color :
# of pins : 47
Gender : FEMALE




Pin Description Circuit
1 FUSED B(+) (PUMP) A921 12RD
2 - -
3 - -
4 - -
5 - -
6 PRIMARY BRAKE SWITCH SIGNAL L53 18DG/WT
6 BRAKE LAMP SWITCH OUTPUT L53 18DG/WT
7 - -
8 IGNITION SWITCH OUTPUT (RUN-START) F20 20PK/WT
9 - -
10 - -
11 - -
12 CAN C BUS (+) D65 20WT/LG
13 CAN C BUS (-) D64 20WT/LB
14 - -
15 - -
16 GROUND Z902 12BK
17 - -
18 - -
19 - -
20 - -
21 - -
22 - -
23 - -
24 - -
25 - -
26 - -
27 - -
28 - -
29 - -
30 - -
31 - -
32 FUSED B(+) (VALVE) A922 12RD
33 RIGHT FRONT WHEEL SPEED SENSOR SIGNAL B6 20WT/DB
34 RIGHT FRONT WHEEL SPEED SENSOR 12 VOLT SUPPLY B7 20WT
35 - -
36 LEFT REAR WHEEL SPEED SENSOR 12 VOLT SUPPLY B4 20LG
37 LEFT REAR WHEEL SPEED SENSOR SIGNAL B3 20LG/DB
38 - -
39 - -
40 - -
41 - -
42 RIGHT REAR WHEEL SPEED SENSOR SIGNAL B1 20YL/DB
43 RIGHT REAR WHEEL SPEED SENSOR 12 VOLT SUPPLY B2 20YL
44 - -
45 LEFT FRONT WHEEL SPEED SENSOR 12 VOLT SUPPLY B9 20RD
46 LEFT FRONT WHEEL SPEED SENSOR SIGNAL B8 20RD/DB
47 GROUND Z902 12BK

Component Location - 1




Component Location - 3




Component Location - 10




Component Location - 13