Curiosii for ever!: Car repair manuals for everyone.

Fuse Block




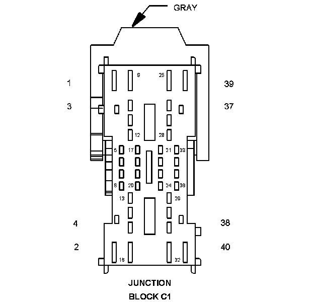
Component ID: 133
Component : JUNCTION BLOCK

Connector:
Name : JUNCTION BLOCK C1
Color : GRAY
# of pins : 0




Pin Description Circuit
1 - -
2 FUSED B(+) A901 12RD/PK
3 - -
4 - -
5 - -
6 - -
7 S/C SWITCH RETURN V937 20VT/BR
7 SENSOR GROUND K900 20DB/DG
8 FUSED B(+) A103 20GY/RD
9 - -
10 FUSED B(+) A918 14OR/LG
11 IGNITION SWITCH OUTPUT (RUN) F921 14PK/YL
12 AUXILIARY COOLANT PUMP DRIVER C43 20WT/DB
13 - -
14 - -
15 ACCESSORY DELAY RELAY CONTROL P305 20LG/LB
16 FRONT BLOWER MOTOR RELAY OUTPUT C7 12DB
17 FUSED B(+) A928 18RD
18 RIGHT TURN SIGNAL L62 18VT/GY
19 LEFT TURN SIGNAL L63 18WT/DG
20 BRAKE LAMP SWITCH OUTPUT L50 20WT/TN
21 BACKUP LAMP FEED L1 18WT/RD
22 - -
23 FUSED IGNITION SWITCH OUTPUT (RUN) F500 20DG/PK
24 FUSED IGNITION SWITCH OUTPUT (RUN-START) F202 20PK/GY
25 FUSED B(+) A940 12RD/GY
26 REAR WIPER PARK SWITCH SENSE W17 18BR/LG
27 CAN B BUS (+) D55 20WT/OR
28 CAN B BUS (-) D54 20WT
29 FUSED B(+) A222 14RD/LB
30 GROUND Z911 20BK
31 FUSED B(+) A920 14OR/RD
32 FUSED B(+) A904 14RD/GY
33 FUSED PARK LAMP RELAY OUTPUT L78 20WT/OR
34 FUSED LEFT INBOARD TAIL LAMP L77 20PK/RD
35 REAR WIPER MOTOR CONTROL W13 18LG/BR
36 DEFOGGER RELAY CONTROL C115 20DB
37 - -
38 - -
39 FUSED B(+) A952 10OR/DB
40 FUSED B(+) A915 12OR/BR

Component Location - 28




Component Location - 31




Component Location - 35






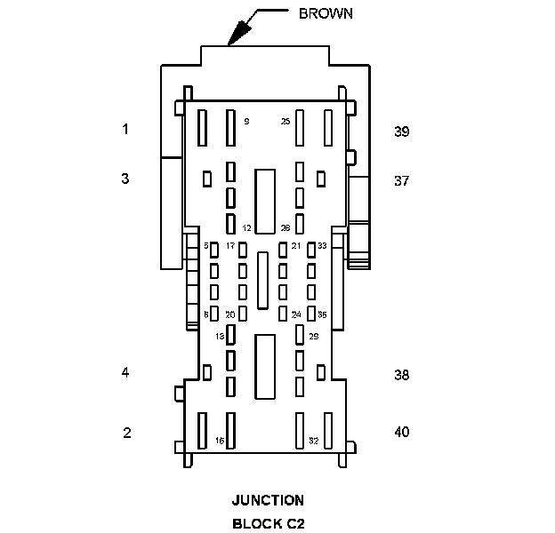
Connector:
Name : JUNCTION BLOCK C2
Color : BROWN
# of pins : 0




Pin Description Circuit
1 - -
2 IGNITION SWITCH OUTPUT (RUN-START) F941 18PK/LG
3 - -
4 - -
5 - -
6 - -
7 - -
8 - -
9 FUSED B(+) A904 14RD/GY
10 - -
11 FUSED B(+) A924 16RD
12 - -
13 FUSED IGNITION SWITCH OUTPUT (RUN) F504 20GY/PK
14 FUSED B(+) A116 14YL/RD
15 FUSED ACCESSORY RELAY OUTPUT F306 18DB/PK
16 FUSED B(+) A114 16GY/RD
17 - -
18 FUSED B(+) A926 18RD
19 FUSED B(+) A926 18RD
20 - -
21 - -
22 FUSED IGNITION SWITCH OUTPUT (RUN-START) F21 20OR/LB
23 FUSED IGNITION SWITCH OUTPUT (RUN-START) F21 20OR/LB
24 FUSED B(+) A925 18RD/BK
25 FUSED B(+) A106 18LB/RD
26 - -
27 AUXILIARY COOLANT PUMP DRIVER C43 18WT/DB
28 - -
29 FUSED B(+). A920 16OR/RD
30 - -
31 FUSED B(+) A117 18RD/DG
32 FRONT BLOWER MOTOR RELAY OUTPUT C7 12DB
33 S/C SWITCH RETURN V937 20DB/DG
33 SENSOR GROUND K900 20DB/DG
34 - -
35 FUSED B(+) A103 18GY/RD
36 BRAKE LAMP SWITCH OUTPUT L50 18WT/TN
37 - -
38 - -
39 - -
40 - -

Component Location - 28




Component Location - 31




Component Location - 35






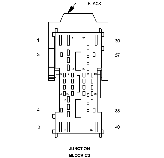
Connector:
Name : JUNCTION BLOCK C3
Color : BLACK
# of pins : 0




Pin Description Circuit
1 FUSED B(+) A940 12RD/GY
2 FUSED REAR BLOWER MOTOR RELAY OUTPUT C51 14BR/RD
3 - -
4 - -
5 FUSED PARK LAMP RELAY OUTPUT L78 20WT/OR
6 FUSED LEFT INBOARD TAIL LAMP L77 20PK/RD
7 REAR WIPER MOTOR CONTROL W13 16LG/BR
8 FUSED IGNITION SWITCH OUTPUT (RUN-START) F21 20OR/LB
9 FUSED ACCESSORY DELAY RELAY OUTPUT F30 14PK/YL
10 REAR WIPER PARK SWITCH SENSE W17 18BR/LG
11 CAN B BUS (+) D55 20WT/OR
12 CAN B BUS (-) D54 20WT
13 - -
14 FUSED B(+) A300 20RD/GY
15 FUSED REAR WINDOW DEFOGGER RELAY OUTPUT C16 20DB/YL
16 REAR WINDOW DEFOGGER RELAY OUTPUT C15 12DB/WT
17 - -
18 BACKUP LAMP FEED L1 16WT/RD
19 BRAKE LAMP SWITCH OUTPUT L50 18WT/TN
20 - -
21 RIGHT TURN SIGNAL L62 18VT/GY
22 LEFT TURN SIGNAL L63 18WT/DG
23 FUSED B(+) A926 20RD
24 - -
25 FUSED ACCESSORY RELAY OUTPUT F307 18YL/LB
26 FUSED IGNITION SWITCH OUTPUT (RUN-START) F201 20PK/OR
27 - -
28 FUSED B(+) A215 20RD/LG
29 - -
30 FUSED B(+) A300 20RD/GY
31 FUSED REAR WINDOW DEFOGGER RELAY OUTPUT C16 20DB/YL
32 FUSED IGNITION SWITCH OUTPUT (RUN) F922 18PK/YL
32 FUSED IGNITION SWITCH OUTPUT (RUN) F922 16PK/YL
33 FUSED IGNITION SWITCH OUTPUT (RUN) F100 20PK/VT
34 - -
35 - -
36 - -
37 - -
38 - -
39 FUSED ACCESSORY RELAY OUTPUT F307 16YL/LB
40 - -

Component Location - 28




Component Location - 31




Component Location - 35






Connector:
Name : JUNCTION BLOCK C4
Color :
# of pins : 0




Pin Description Circuit
1 CAN B BUS (-) D54 20WT
2 - -
3 - -
4 - -
5 - -
6 - -
7 - -
8 - -
9 - -
10 - -
11 - -
12 - -
13 - -
14 - -
15 - -
16 ADJUSTABLE PEDALS RELAY OUTPUT A85 18RD/LB
17 CAN B BUS (+) D55 20WT/OR
18 S/C SWITCH NO. 2 SIGNAL V38 20VT/OR
19 S/C SWITCH NO. 1 SIGNAL V37 20VT
20 TOW/HAUL OVERDRIVE OFF SWITCH SENSE T6 20LB/LG
21 BRAKE SWITCH NO. 1 SIGNAL B29 20DG/WT
22 S/C BRAKE SWITCH OUTPUT V30 20VT/WT
23 BRAKE SWITCH NO. 2 SIGNAL V32 20VT/YL
24 FUSED IGNITION SWITCH OUTPUT (RUN) F500 20DG/PK
25 - -
26 - -
27 - -
28 - -
29 DYNAMICS SENSOR HIGH DATA LINK D465 20WT/BK
30 DYNAMICS SENSOR LOW DATA LINK D464 20WT
31 CAN C BUS (-) D64 20WT/LB
32 CAN C BUS (+) D65 20YL/RD

Component Location - 28




Component Location - 31




Component Location - 35






Connector:
Name : JUNCTION BLOCK C5
Color :
# of pins : 0




Pin Description Circuit
1 CAN B BUS (+) D55 20WT/OR
2 S/C SWITCH NO. 2 SIGNAL V38 20VT/OR
3 S/C SWITCH NO. 1 SIGNAL V37 20VT
4 TOW/HAUL OVERDRIVE OFF SWITCH SENSE T6 20LB/LG
5 BRAKE SWITCH NO. 1 SIGNAL B29 20DG/WT
6 FUSED IGNITION SWITCH OUTPUT (RUN-START) F202 20PK/GY
6 S/C BRAKE SWITCH OUTPUT V30 20VT/WT
7 BRAKE SWITCH NO. 2 SIGNAL V32 20VT/YL
8 FUSED IGNITION SWITCH OUTPUT (RUN) F500 20DG/PK
9 - -
10 - -
11 - -
12 - -
13 DYNAMICS SENSOR HIGH DATA LINK D465 20WT/BK
14 DYNAMICS SENSOR LOW DATA LINK D464 20WT
15 CAN C BUS (-) D64 20WT/LB
16 CAN C BUS (+) D65 20YL/RD
17 CAN B BUS (-) D54 20WT
18 - -
19 - -
20 - -
21 - -
22 - -
23 - -
24 - -
25 - -
26 - -
27 - -
28 - -
29 - -
30 - -
31 BRAKE LAMP SWITCH OUTPUT L50 20WT/TN
32 ADJUSTABLE PEDALS RELAY OUTPUT A85 18RD/LB

Component Location - 28




Component Location - 31




Component Location - 35