Curiosii for ever!
: Car repair manuals for everyone.
Home
>>
Chrysler Truck
>>
2003
>>
PT Cruiser L4-2.4L VIN B
>>
Repair and Diagnosis
>>
Powertrain Management
>>
Computers and Control Systems
>>
Relays and Modules - Computers and Control Systems
>>
Body Control Module
>>
Diagrams
>>
Electrical Diagrams
Electrical Diagrams
Airbag System - Base System:
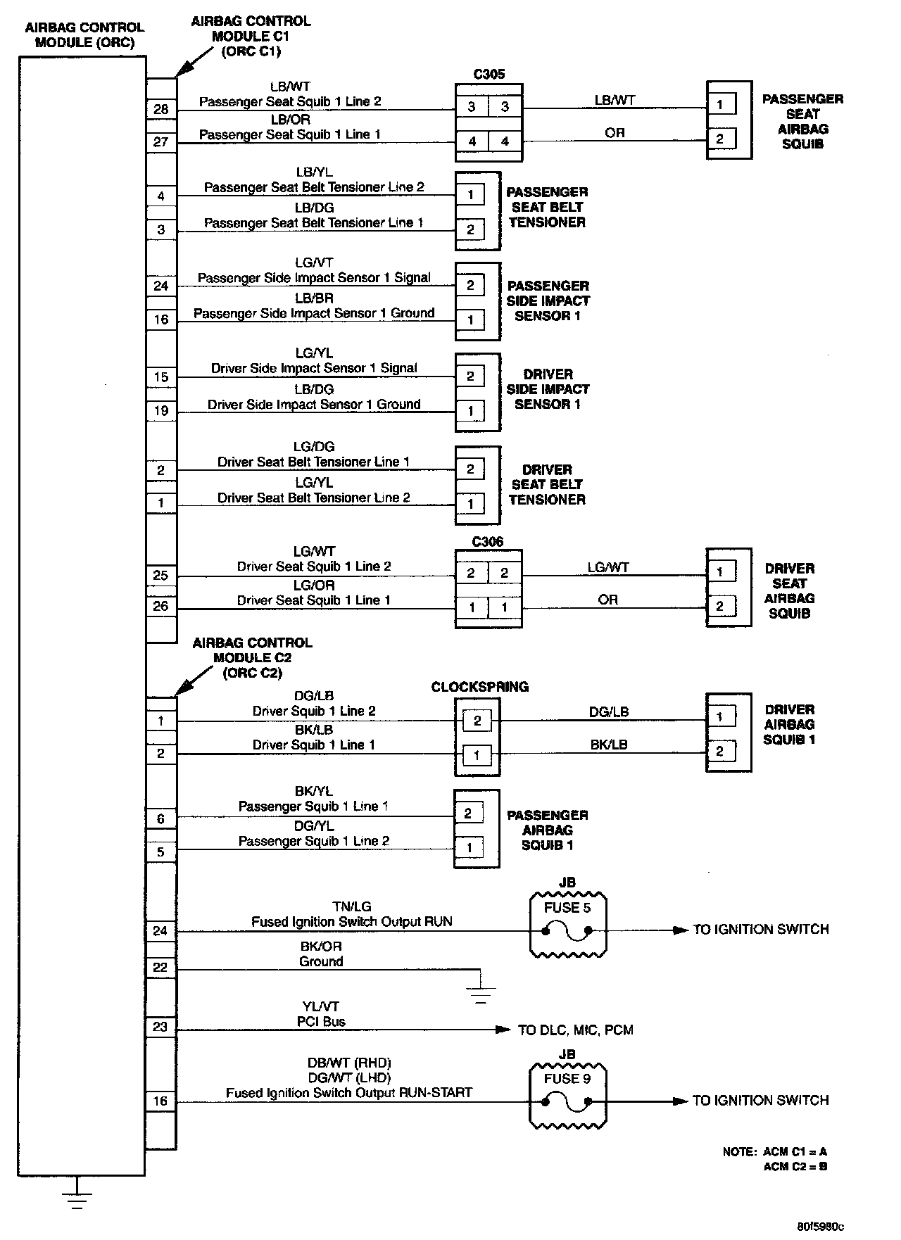
Airbag System - Premium System:
Audio System:
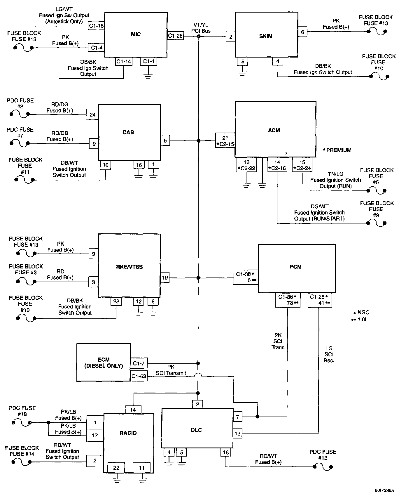
Communication:
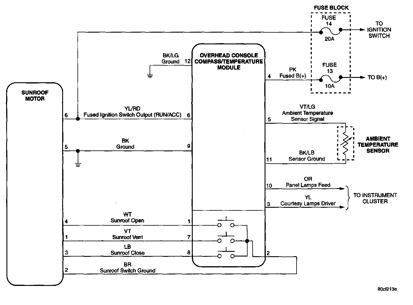
Compass/Temperature Module:
Instrument Cluster:
Interior Lighting:
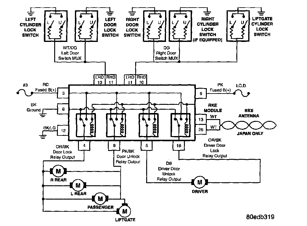
Power Door Locks:
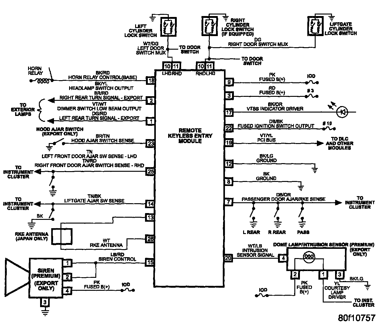
Vehicle Theft Security System: