Curiosii for ever!: Car repair manuals for everyone.

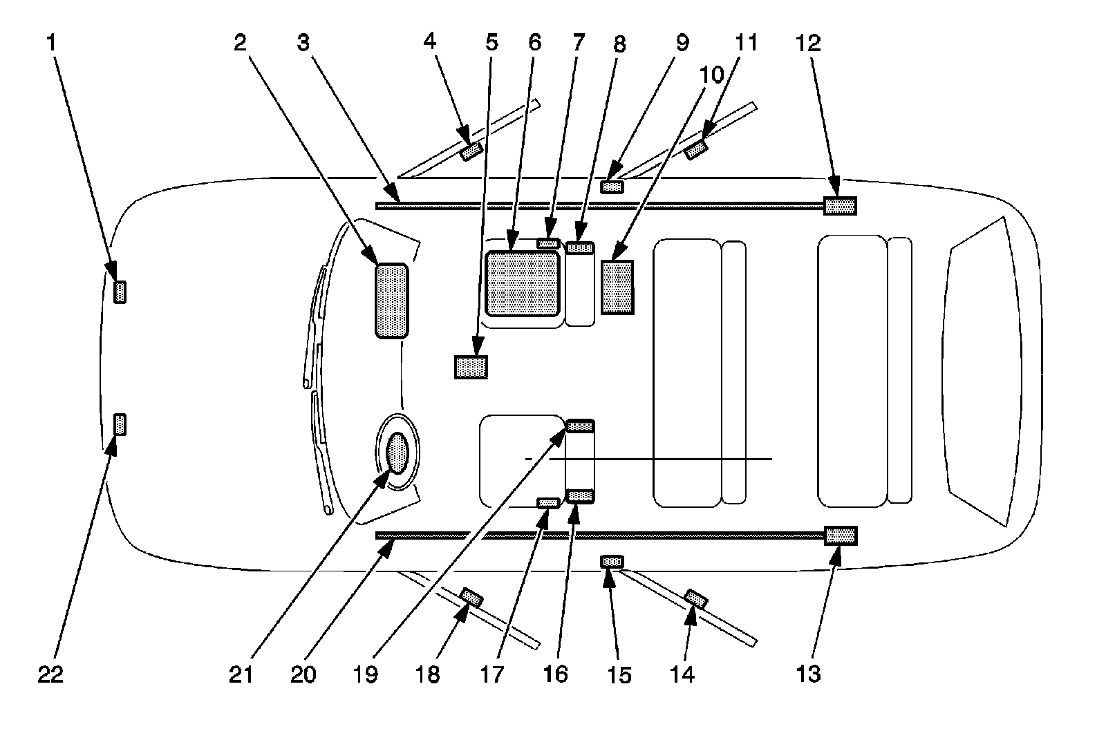
Air Bag Systems: Locations




SIR Identification Views

The SIR Identification Views shown below illustrate the approximate location of all SIR components available for the vehicle. This will assist in determining the appropriate SIR Disabling and Enabling for a given service procedure. Refer to SIR Disabling and Enabling Service and Repair.





1 - Right Front Impact Sensor -Located under the front hood in the engine compartment

2 - Passenger Instrument Panel Air Bag-Located at the top right under the instrument panel

3 - Right Roof Rail Air Bag -Located under the headliner, extending from the passenger front windshield pillar to the passenger rear windshield pillar

4 - Right Front Side Impact Sensor (SIS) -Located under the right front door trim near the lower rear of the door frame

5 - Inflatable Restraint Sensing and Diagnostic Module (SDM)-Located underneath the vehicle carpet under the center console

6 - Passenger Presence System (PPS)-Located on the passenger front seat underneath the seat bottom trim

7 - Passenger Seat Belt Anchor Pretensioner-Located on the outboard side of the passenger seat

8 - Passenger Seat Side Air Bag -Located on the seat back of the passenger seat

9 - Passenger Seat Belt Retractor Pretensioner -Located under the trim near the bottom of the center pillar

10 - Vehicle Battery-Located at the front left of the engine compartment.

11 - Right Rear Side Impact Sensor (SIS) -Located under the right rear door trim near the lower rear of the door frame

12 - Right Roof Rail Module -Located behind the garnish molding on the upper rear pillar

13 - Left Roof Rail Module -Located behind garnish molding on the upper rear pillar

14 - Left Rear Side Impact Sensor (SIS) -Located under the left rear door trim near the lower rear of the door frame

15 - Driver Seat Belt Retractor Pretensioner -Located under the trim near the bottom of the center pillar

16 - Driver Seat Side Air Bag -Located on the outboard side of the driver seat back

17 - Driver Seat Belt Anchor Pretensioner-Located on the outboard side of the driver seat

18 - Left Front Side Impact Sensor (SIS) -Located under the left front door trim near the lower rear of the door frame

19 - Driver Seat Inboard Side Air Bag -Located on the inboard side of the driver seat back

20 - Left Roof Rail Air Bag -Located under the headliner, extending from the driver front windshield pillar to the driver rear windshield pillar

21 - Driver Steering Wheel Air Bag-Located on the steering wheel

22 - Left Front Impact Sensor -Located under the front hood in the engine compartment