Curiosii for ever!
: Car repair manuals for everyone.
Home
>>
Chevy Truck
>>
2013
>>
Silverado 3500 2WD V8-6.6L DSL Turbo
>>
Repair and Diagnosis
>>
Powertrain Management
>>
Glow Plug System
>>
Glow Plug Control Module
>>
Diagrams
>>
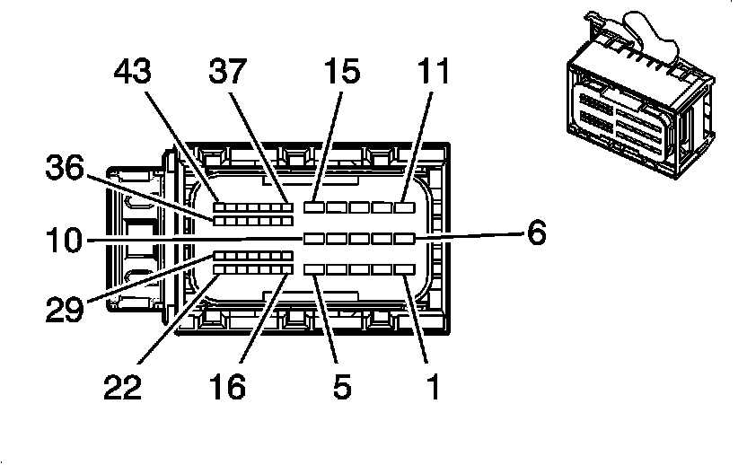
Glow Plug Control Module (GPCM) X2
Glow Plug Control Module (GPCM) X2
Component Connector End Views
Glow Plug Control Module
(GPCM) X2 (Diesel)