Curiosii for ever!: Car repair manuals for everyone.

Wiper Gear Box: Service and Repair




Windshield Wiper Transmission Replacement

Special Tools

* J 39232 - Wiper Transmission Separator

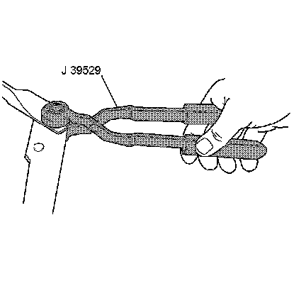
* J 39529 - Wiper Transmission Installer

Removal Procedure





1. Remove the wiper arms. Refer to Windshield Wiper Arm Replacement Service and Repair.

2. Remove the air inlet grille panel. Refer to Air Inlet Grille Panel Replacement Service and Repair.

3. Disconnect the electrical connector from the wiper motor.





4. Remove the 4 bolts retaining the wiper transmission assembly to the plenum.





5. Remove the wiper transmission assembly from the vehicle.





6. Disconnect the drive link from the wiper motor crank arm using the J 39232 - separator.





7. Remove the 2 bolts retaining the wiper motor to the transmission.

8. Remove the wiper motor from the wiper transmission.

Installation Procedure

Caution:
Refer to Fastener Caution Fastener Caution.





1. Install the wiper motor onto the wiper transmission with the 2 bolts and tighten to 8 Nm (71 lb in).





2. Connect the drive link onto the wiper motor crank arm using the J 39529 - installer.





3. Install the wiper transmission assembly to the plenum.





4. Install the 4 bolts and tighten to 8 Nm (71 lb in).





5. Connect the electrical connector to the wiper motor.

6. Install the air inlet grille panel. Refer to Air Inlet Grille Panel Replacement Service and Repair.

7. Install the wiper arms. Refer to Windshield Wiper Arm Replacement Service and Repair.

8. Operate the wipers and inspect for proper operation.