Curiosii for ever!
: Car repair manuals for everyone.
Home
>>
Chevy Truck
>>
2012
>>
Traverse AWD V6-3.6L
>>
Repair and Diagnosis
>>
Diagrams
>>
Connector Views
>>
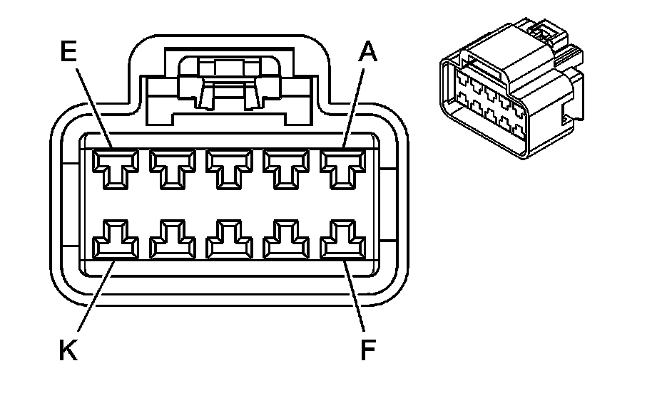
Power Seat Switch
>>
Seat Adjuster Switch - Driver (AG3)
Seat Adjuster Switch - Driver (AG3)
Component Connector End Views
Seat Adjuster Switch - Driver (AG3)