Curiosii for ever!
: Car repair manuals for everyone.
Home
>>
Chevy Truck
>>
2012
>>
Express 2500 V8-6.6L DSL Turbo
>>
Repair and Diagnosis
>>
Diagrams
>>
Connector Views
>>
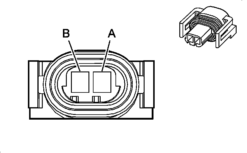
Variable Boost Control Solenoid, Turbocharger
Variable Boost Control Solenoid, Turbocharger
Component Connector End Views
Turbocharger
Vane Position Control Solenoid Valve (LGH)