Curiosii for ever!: Car repair manuals for everyone.

64. Engine Block Plug Installation




Engine Block Plug Installation





Note:
Engine block plug, oil gallery, and coolant sealing washers may be used again if not bent, scored or otherwise damaged.

1. Apply a 3.175 mm (0.125 in) bead of sealant GM P/N 12346004 (Canadian P/N 10953480) to the engine block coolant heater sealing washer (115), if applicable. Refer to Adhesives, Fluids, Lubricants, and Sealers Adhesives, Fluids, Lubricants, and Sealers.

Caution:
Refer to Fastener Caution Fastener Caution.

2. Install the engine block coolant heater (114) to the engine block and tighten to 50 Nm (37 lb ft).





3. Apply a 3.175 mm (0.125 in) bead of sealant GM P/N 12346004 (Canadian P/N 10953480) to the engine block right rear coolant drain hole plug sealing washer.

4. Install the engine block right rear coolant drain hole plug and tighten to 60 Nm (44 lb ft).





5. Apply a 3.175 mm (0.125 in) bead of sealant GM P/N 12346004 (Canadian P/N 10953480) to the engine block left front oil gallery plug sealing washer (117).

6. Install the engine block left front oil gallery plug (116) and tighten to 60 Nm (44 lb ft).





7. Apply a 3.175 mm (0.125 in) bead of sealant GM P/N 12346004 (Canadian P/N 10953480) to the engine block left rear oil gallery plug sealing washer (113).

8. Install the engine block left rear oil gallery plug (112) and tighten to 60 Nm (44 lb ft).





9. Inspect the engine block rear oil gallery plug and O-ring seal. If the O-ring seal on the plug is not cut or damaged, the rear oil gallery plug may be used again.

10. Lubricate the O-ring seal with clean engine oil.

11. Install the O-ring seal onto the plug.

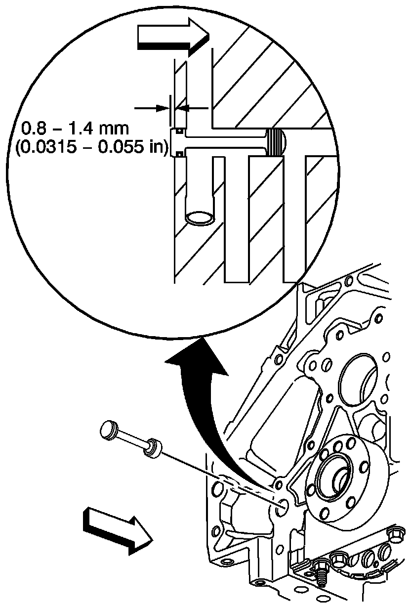
12. Install the engine block rear oil gallery plug into the oil gallery bore. A properly installed block plug will protrude 0.8-1.4 mm (0.0315-0.055 in) beyond the rear face of the block.





13. Apply threadlock GM P/N 12345382 (Canadian P/N 10953489) to the sides of the NEW front oil gallery plug (101).





14. Install a NEW engine block front oil gallery plug. Install the plug into the oil gallery bore 2.2-2.8 mm (0.0086-0.011 in) below flush.





15. Install the left side knock sensor (718) and bolt (739) and tighten to 25 Nm (18 lb ft).





16. Install the right side knock sensor (718) and bolt (739) and tighten to 25 Nm (18 lb ft).