Curiosii for ever!: Car repair manuals for everyone.

Wiper Motor: Service and Repair




Windshield Wiper Motor Replacement

Special Tools
* J 39232 Wiper Linkage Separator
* J 39529 Wiper Linkage Installer

Removal Procedure

1. Remove the wiper arms. Refer to Windshield Wiper Arm Replacement Service and Repair.
2. Remove the air inlet grille panel. Refer to Air Inlet Grille Panel Replacement Service and Repair.




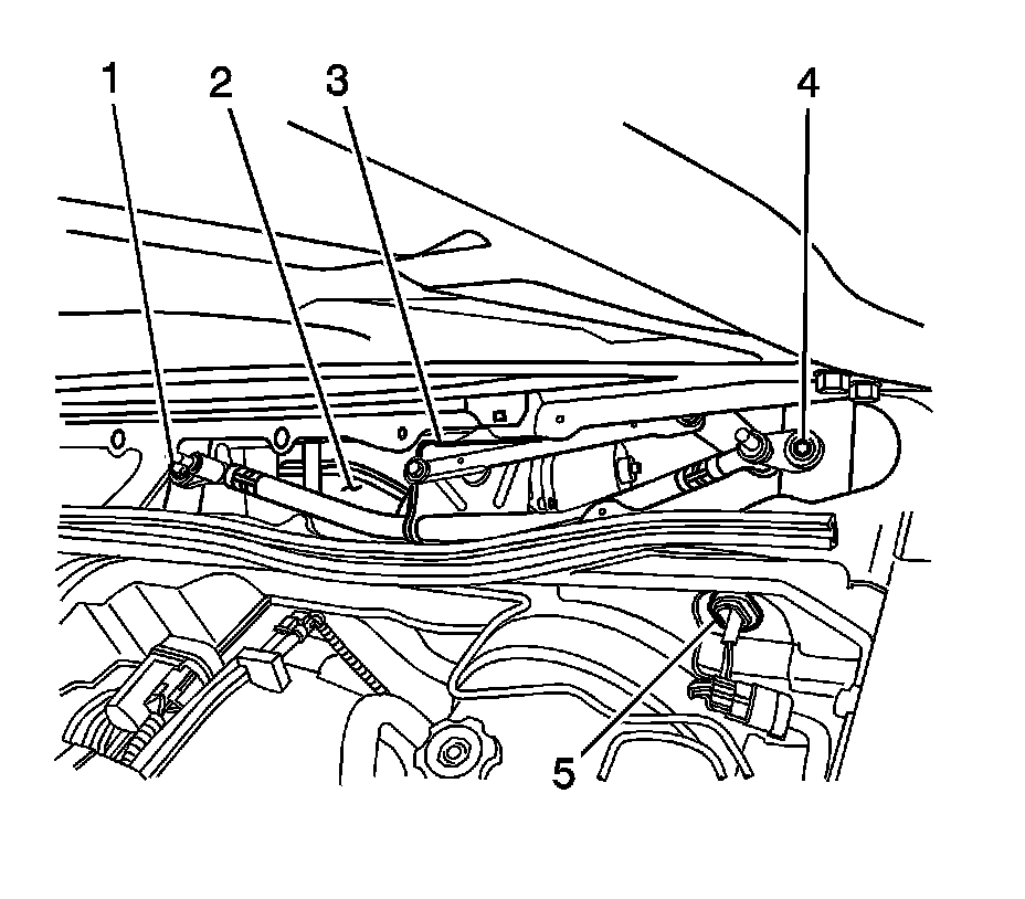
3. Remove the wiper transmission (3). Refer to Windshield Wiper Transmission Replacement Service and Repair.
4. Using the J 39232 , separate the transmission link from the wiper motor crank arm ball stud.
5. Remove the fasteners from the wiper motor to the frame assembly.
6. Remove the wiper motor.

Installation Procedure

1. Install the wiper motor onto the wiper transmission frame.

Caution: Refer to Fastener Caution Fastener Caution.

2. Install the bolts in order to secure the motor to the frame.

Tighten the wiper motor mounting bolts to 9 Nm (81 lb in).





Note: Lubricate the socket with Multi-Purpose Lubricant, Superlube, GM P/N 12346241 (Canadian P/N 10953474) or equivalent.

3. Install the transmission drive link socket onto the crank arm ball of the wiper motor using the J 39529 .




4. Install the wiper transmission (3) to the plenum. Refer to Windshield Wiper Transmission Replacement Service and Repair.
5. Install the air inlet grille panel. Refer to Air Inlet Grille Panel Replacement Service and Repair.
6. Install the wiper arms. Refer to Windshield Wiper Arm Replacement Service and Repair.
7. Test the operation of the windshield wiper system.