Curiosii for ever!: Car repair manuals for everyone.

Accumulator: Service and Repair




Accumulator Assembly, Spacer Plate, and Gaskets

Special Tools
* J 25025-B Pump and Valve Body Alignment Pin Set
* J 36850 Transjel Lubricant

Removal Procedure




1. Raise and support the vehicle. Refer to Lifting and Jacking the Vehicle Service and Repair.
2. Remove the transmission oil pan and filter. Refer to Automatic Transmission Fluid and Filter Replacement Automatic Transmission Fluid and Filter Replacement.

Note: The 1-2 accumulator can be removed without removing the control valve assembly.

3. Remove the control valve body. Refer to Control Valve Body Replacement Service and Repair.
4. Remove the accumulator cover retaining bolts.
5. Remove the 1-2 accumulator cover assembly.
6. Disassemble the 1-2 accumulator. Refer to 1-2 Accumulator Disassemble 75. 1-2 Accumulator Disassemble.




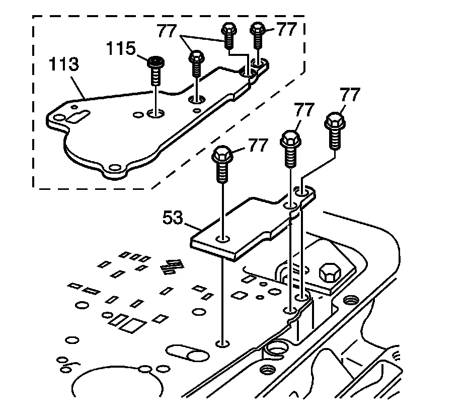
7. Remove the spacer plate support retaining bolts (77).

Note: Use care not to drop the following items that will be removed along with the spacer plate:

* The number 1 checkball
* The 3-4 accumulator spring
* The 3-4 accumulator pin

8. Remove the spacer plate support (53 or 113).





Note: Do not reuse the bonded spacer plate. Replace with a NEW bonded spacer plate.

9. Remove the bonded valve body spacer plate (48), discard, do not reuse.




10. Remove the 3-4 accumulator piston (2).

Note: Some models do not use a 3-4 accumulator spring.

11. Inspect the 3-4 accumulator spring for cracks.




12. Remove the 3-4 accumulator piston seal (45) from the 3-4 accumulator piston (44).
13. Inspect the 3-4 accumulator piston for the following defects:

* Porosity
* Cracks
* Scoring
* Nicks and scratches

Installation Procedure




1. Install a new 3-4 accumulator piston seal (45) to the 3-4 accumulator piston (44).




2. Install the 3-4 accumulator pin (1) into the transmission case and retain the pin with J 36850 .




3. Install the 3-4 accumulator piston (2) onto the pin (1) in the transmission case.
Ensure that the 3-4 accumulator piston legs face away from the transmission case.




4. Install the J 25025-B (2, 3) to the transmission case.




5. Place the checkball (1) on the spacer plate in the location shown.
6. Place the 3-4 accumulator spring (2) on the spacer plate.




7. Install the J-25025-5 - guide pins into the case.

Note: Do not reuse the bonded spacer plate (48). Replace with a NEW bonded spacer plate.

8. Place the bonded spacer plate on the case.




9. Install the spacer plate support plate (53 or 113).
10. Install the spacer plate bolts (77).

Caution: Refer to Fastener Caution Fastener Caution.

11. Install the accumulator bolt (115), model dependent and tighten the accumulator bolt to 11 Nm (97 lb in).




12. After installing the spacer plate support (2), look through the hole in the spacer plate to ensure that the checkball (1) has remained in the proper location.
13. Assemble the 1-2 accumulator. Refer to 1-2 Accumulator Assemble 76. 1-2 Accumulator Assemble.
14. Install the 1-2 accumulator. Refer to 1-2 Accumulator Installation 77. 1-2 Accumulator Installation.
15. Remove the J 25025-B from the transmission case.
16. Install the control valve body. Refer to Control Valve Body Replacement Service and Repair.
17. Install the transmission oil pan and filter. Refer to Automatic Transmission Fluid and Filter Replacement Automatic Transmission Fluid and Filter Replacement.
18. Lower the vehicle.
19. Fill the transmission to the proper level with DEXRON(R) VI transmission fluid. Refer to Transmission Fluid Level and Condition Check Transmission Fluid Level and Condition Check.

Note: It is recommended that transmission adaptive pressure (TAP) information be reset.

Resetting the TAP values using a scan tool will erase all learned values in all cells. As a result, the engine control module (ECM), powertrain control module (PCM) or transmission control module (TCM) will need to relearn TAP values. Transmission performance may be affected as new TAP values are learned.

20. Reset the TAP values. Refer to Transmission Adaptive Functions Transmission Adaptive Functions.