Curiosii for ever!
: Car repair manuals for everyone.
Home
>>
Chevy Truck
>>
2012
>>
Colorado 2WD L4-2.9L
>>
Repair and Diagnosis
>>
Diagrams
>>
Connector Views
>>
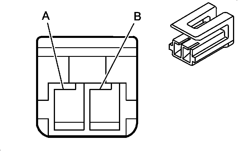
Pressure Regulating Solenoid, A/T
Pressure Regulating Solenoid, A/T
Component Connector End Views
Pressure Control (PC) Solenoid Valve (M30)