Curiosii for ever!: Car repair manuals for everyone.

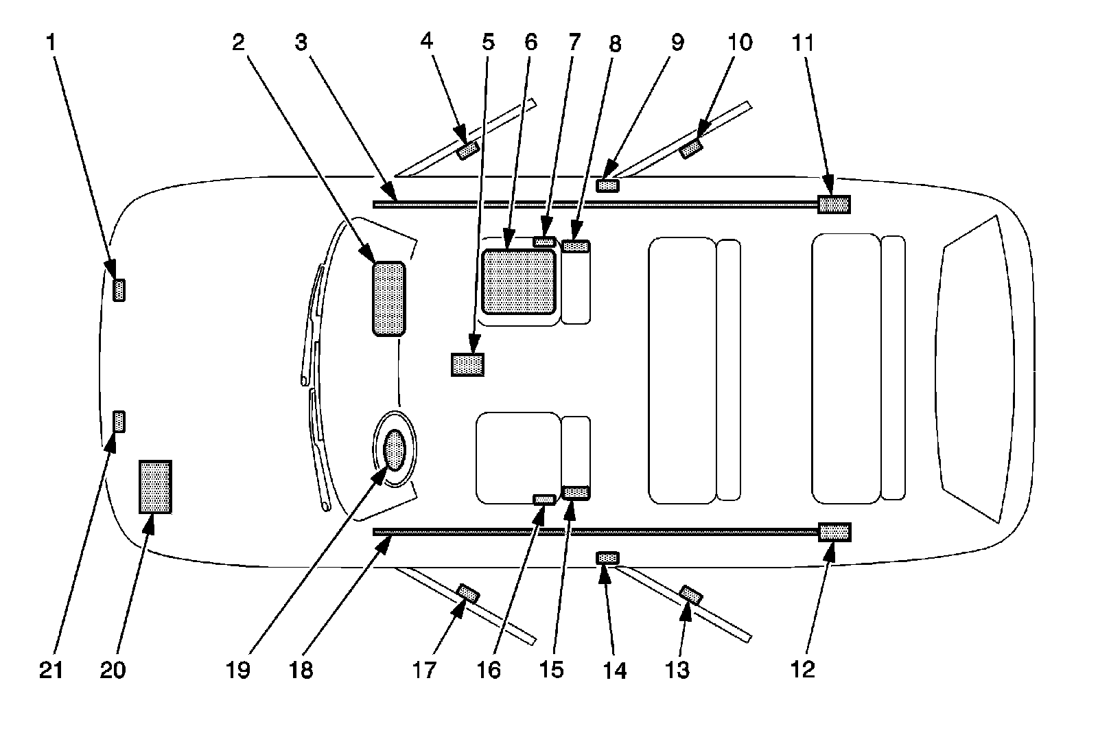
SIR Identification Views




SIR Identification Views




1 - Right Front Impact Sensor -Located under the front hood in the engine compartment
2 - Passenger Instrument Panel Air Bag-Located at the top right under the instrument panel
3 - Right Roof Rail Air Bag -Located under the headliner, extending from the passenger front windshield pillar to the passenger rear windshield pillar
4 - Right Front Side Impact Sensor (SIS) -Located under the right front door trim near the lower rear of the door frame
5 - Inflatable Restraint Sensing and Diagnostic Module (SDM)-Located underneath the vehicle carpet under the center console
6 - Passenger Presence System (PPS)-Located on the passenger front seat underneath the seat bottom trim
7 - Passenger Seat Belt Anchor Pretensioner-Located on the outboard side of the passenger seat
8 - Passenger Seat Side Air Bag -Located on the seat back of the passenger seat
9 - Passenger Seat Belt Retractor Pretensioner -Located under the trim near the bottom of the center pillar
10 - Right Rear Side Impact Sensor (SIS) -Located under the right rear door trim near the lower rear of the door frame
11 - Right Roof Rail Module -Located behind the garnish molding on the upper rear pillar
12 - Left Roof Rail Module -Located behind garnish molding on the upper rear pillar
13 - Left Rear Side Impact Sensor (SIS) -Located under the left rear door trim near the lower rear of the door frame
14 - Driver Seat Belt Retractor Pretensioner -Located under the trim near the bottom of the center pillar
15 - Driver Seat Side Air Bag -Located on the seat back of the driver seat
16 - Driver Seat Belt Anchor Pretensioner-Located on the outboard side of the driver seat
17 - Left Front Side Impact Sensor (SIS) -Located under the left front door trim near the lower rear of the door frame
18 - Left Roof Rail Air Bag -Located under the headliner, extending from the driver front windshield pillar to the driver rear windshield pillar
19 - Driver Steering Wheel Air Bag-Located on the steering wheel
20 - Vehicle Battery-Located at the front left of the engine compartment.
21 - Left Front Impact Sensor -Located under the front hood in the engine compartment