Curiosii for ever!: Car repair manuals for everyone.

Engine Support Fixture




Engine Support Fixture

Special Tools
* J 28467-B Universal Engine Support Fixture
* J 28467-7A Bolt Hook
* J 28467-34 Lift Hook Wing Nut and Washer
* J-41803-9 Engine Lift Hook
* J 42451-1 Engine Support Adapter

Installation Procedure




1. Remove the injector sight shield. Refer to Fuel Injector Sight Shield Replacement (Fuel Injector Sight Shield Replacement).
2. Remove the underhood electrical center. Refer to Underhood Electrical Center or Junction Block Replacement (Underhood Electrical Center or Junction Block Replacement).
3. Remove the right engine strut mount. Refer to Engine Mount Strut Replacement - Right Side (Engine Mount Strut Replacement - Right Side).
4. Install the J 42451-1 to the right side of the engine.
5. Remove the Mass air flow sensor. Refer to Mass Airflow Sensor with Intake Air Temperature Sensor Replacement (Service and Repair).




6. Install the J-41803-9 to the left side front of the engine.




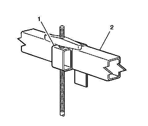
7. Using J 28467-B , install the ends of the strut tower tube J 28467-518 (1) to the engine support adapter legs (P/N) 48059 (2).




8. Place the strut tower tube J 28467-518 and the (P/N) 48059 on top of both the left and right fender lips, over the engine rear lift bracket.




9. Install the radiator shelf tube J 36462-1A (2) on top of the strut tower tube J 28467-518 (1) above the left side of the engine.




10. Install the round tube of the front support assembly J 28467-4A through the large hole in the radiator shelf tube J 36462-1A.
11. Remove the upper tie bar cover.
12. Locate the J 28467-4A front support assembly to the upper tie bar.
13. Install the J 28467-9 quick-release pin through the bottom hole in the J 28467-4A front support assembly.
14. Install the J 28467-9 quick-release pin through the hole above the J-36462-1A radiator shelf tube.




15. Install the J 28467-1A cross bracket assembly.
16. Hand tighten the J 28467-1A cross bracket wing nuts.




17. Install the J 28467-7A bolt hook through the J-41803-9 bracket.
18. Install the J 28467-34 lift hook wing nut and washer to the J 28467-7A lift hook.
19. Repeat the previous 2 steps in order to assemble 2 lift hooks and brackets.




20. Install one of the lift hook and bracket assemblies (1) to the J 28467-518 strut tower tube (2) above the J 42451-1 engine rear lift bracket.
21. Install the lift hook J 28467-7A through the J 42451-1 engine rear lift bracket. Ensure the hook does not damage adjacent components.
22. Install the other lift hook and bracket assembly (1) to the J 28467-2A radiator shelf tube (2) above the engine front lift bracket.
23. Install the lift hook J 28467-7A through the J-41803-9 engine front lift bracket. Ensure the hook does not damage adjacent components.
24. Hand tighten the lift hook wing nuts J 28467-34 in order to remove all slack from the engine support fixture assembly.