Curiosii for ever!
: Car repair manuals for everyone.
Home
>>
Chevy Truck
>>
2011
>>
Silverado 2500 4WD V8-6.6L DSL Turbo
>>
Repair and Diagnosis
>>
Powertrain Management
>>
Computers and Control Systems
>>
Engine Control Module
>>
Diagrams
>>
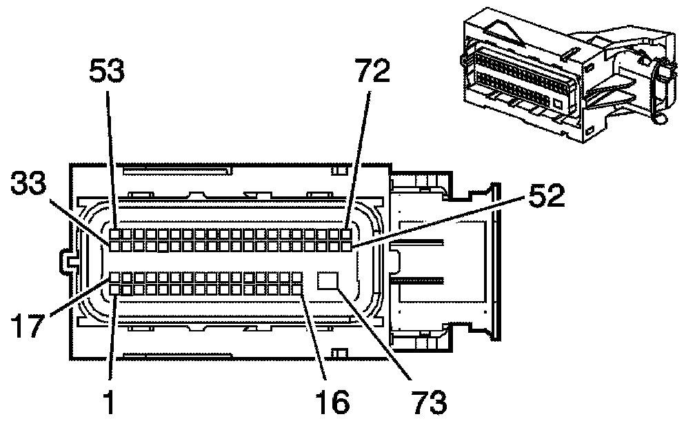
Engine Control Module (ECM) X2
Engine Control Module (ECM) X2
ENGINE CONTROL MODULE (ECM) X2