Curiosii for ever!: Car repair manuals for everyone.

Control Valve Body Cover Replacement




Control Valve Body Cover Replacement

Special Tools

J 36850 Transjel Lubricant(TM)

Removal Procedure

1. With the wheels in the straight ahead position, remove the key from the ignition switch.
2. Remove the underhood electrical center cover.
3. Disconnect the negative battery cable. Refer to Battery Negative Cable Disconnection and Connection (Battery Negative Cable Disconnection and Connection).




4. Disconnect the engine control module harness connector (3, 4).
5. Disconnect the positive battery cables (1) from the under hood electrical center.




6. Remove the underhood electrical center tray bracket nuts (1) and bolt (2).
7. Disconnect the wiring harness retainer from the tray bracket.




8. Lift the electrical center up and swing it back and out of the way.




9. Disconnect the shift cable from the PNP switch.
10. Disconnect the electrical connector from the PNP switch.
11. Remove the shift cable with bracket from the transmission.
12. Remove the PNP switch. Refer to Park/Neutral Position Switch Replacement (Service and Repair).
13. Install the engine support fixture. Refer to Engine Support Fixture (Engine Support Fixture).
14. Secure the cooling module to the upper body structure.
15. Raise the vehicle. Refer to Lifting and Jacking the Vehicle (Service and Repair).
16. Remove the front tires and wheels. Refer to Tire and Wheel Removal and Installation (Service and Repair).
17. Remove the frame. Refer to Frame Replacement (Service and Repair).
18. Remove the left wheel drive shaft from the transaxle. Refer to Wheel Drive Shaft Replacement (Wheel Drive Shaft Replacement).
19. Lower the vehicle.
20. Remove the left transmission mount. Refer to Transmission Mount Replacement - Left Side (Transmission Mount Replacement - Left Side).
21. Lower the engine with the engine support fixture.
22. Raise the vehicle. Refer to Lifting and Jacking the Vehicle (Service and Repair).




23. Remove the 11 transmission side cover bolts (3) or studs (4) (model dependant).

Caution: Pry on the corner of the case side cover near the locating dowel pins (45), to prevent damage to the sealing surfaces.

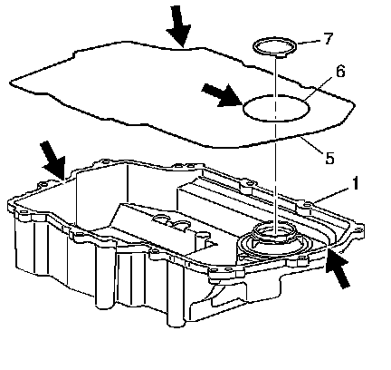
24. Remove the transmission side cover (1).
25. Remove the two side cover gaskets (5 and 6) and the side cover to driven support thrust washer (7). They may remain with the side cover. Only replace if necessary.

Installation Procedure




1. If the seals were removed, thoroughly clean and dry the side cover seal grooves and the side cover seals.
2. Install the side cover gaskets (5 and 6) into the grooves on the side cover (1).
3. Retain the seals with J 36850 or equivalent.
4. Install the side cover to drive sprocket thrust washer (7) onto the side cover.
5. Retain the thrust washer with J 36850 or equivalent.




6. Install the side cover assembly onto the transmission case.
7. Install the 11 side cover bolts (3) or studs (4) (model dependent).




8. Refer to the graphic in order to find the correct installation points of the bolts and the stud.





Caution: Refer to Fastener Caution (Fastener Caution).

9. Hand start the bolts and tighten the side cover bolts and stud to 28 Nm (22 lb ft).
10. Lower the vehicle.
11. Raise the engine with the engine support fixture.
12. Install the left transmission mount. Refer to Transmission Mount Replacement - Left Side (Transmission Mount Replacement - Left Side).
13. Raise the vehicle.
14. Install the left wheel drive shaft to the transmission. Refer to Wheel Drive Shaft Replacement (Wheel Drive Shaft Replacement).
15. Install the frame. Refer to Frame Replacement (Service and Repair).
16. Install the front tires and wheels. Refer to Tire and Wheel Removal and Installation (Service and Repair).
17. Lower the vehicle.
18. Remove the engine support fixture. Refer to Engine Support Fixture (Engine Support Fixture).




19. Install the PNP switch. Refer to Park/Neutral Position Switch Replacement (Service and Repair).
20. Connect the electrical connector to the PNP switch.
21. Install the shift cable with bracket to the transmission.
22. Connect the shift cable to the PNP switch.
23. Reposition the underhood electrical center.
24. Connect the wiring harness retainer to the tray bracket.




25. Install the electrical center nuts (1) and bolts (2).

* Tighten the nut to 10 Nm (89 lb in).
* Tighten the bolt to 25 Nm (18 lb ft).




26. Install the positive battery cables (1) to the underhood electrical center and tighten the positive cable nut to 15 Nm (11 lb ft).
27. Connect the engine control module harness connectors (3, 4).
28. Connect the negative battery cable. Refer to Battery Negative Cable Disconnection and Connection (Battery Negative Cable Disconnection and Connection).
29. Install the underhood electrical center cover.
30. Fill the transmission. Refer to Approximate Fluid Capacities ([1][2]Maintenance).