Curiosii for ever!
: Car repair manuals for everyone.
Home
>>
Chevy Truck
>>
2011
>>
HHR L4-2.2L
>>
Repair and Diagnosis
>>
Lighting and Horns
>>
License Plate Lamp
>>
Service and Repair
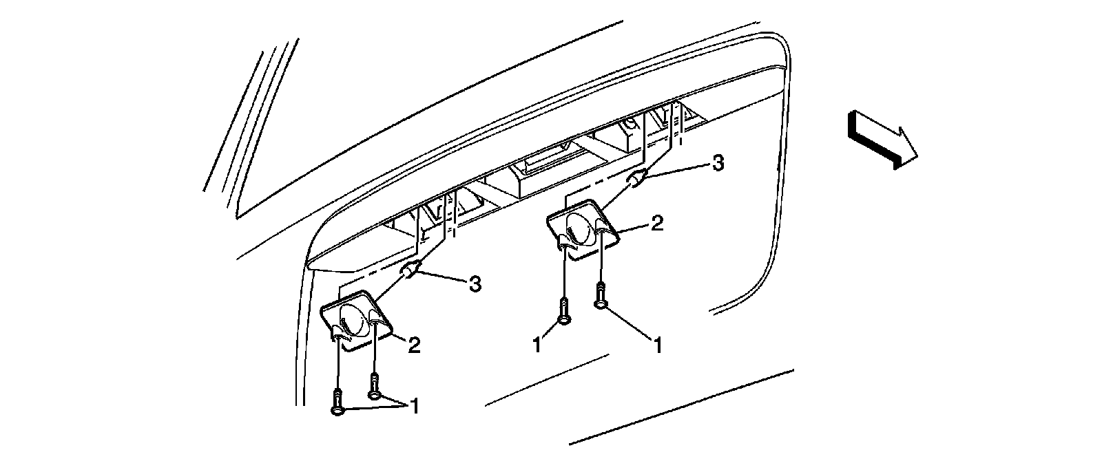
License Plate Lamp: Service and Repair
Rear
License Plate Lamp
Bulb Replacement