Curiosii for ever!
: Car repair manuals for everyone.
Home
>>
Chevy Truck
>>
2011
>>
HHR L4-2.2L
>>
Repair and Diagnosis
>>
Body and Frame
>>
Interior Moulding / Trim
>>
Console
>>
Console Lamp
>>
Service and Repair
Console Lamp: Service and Repair
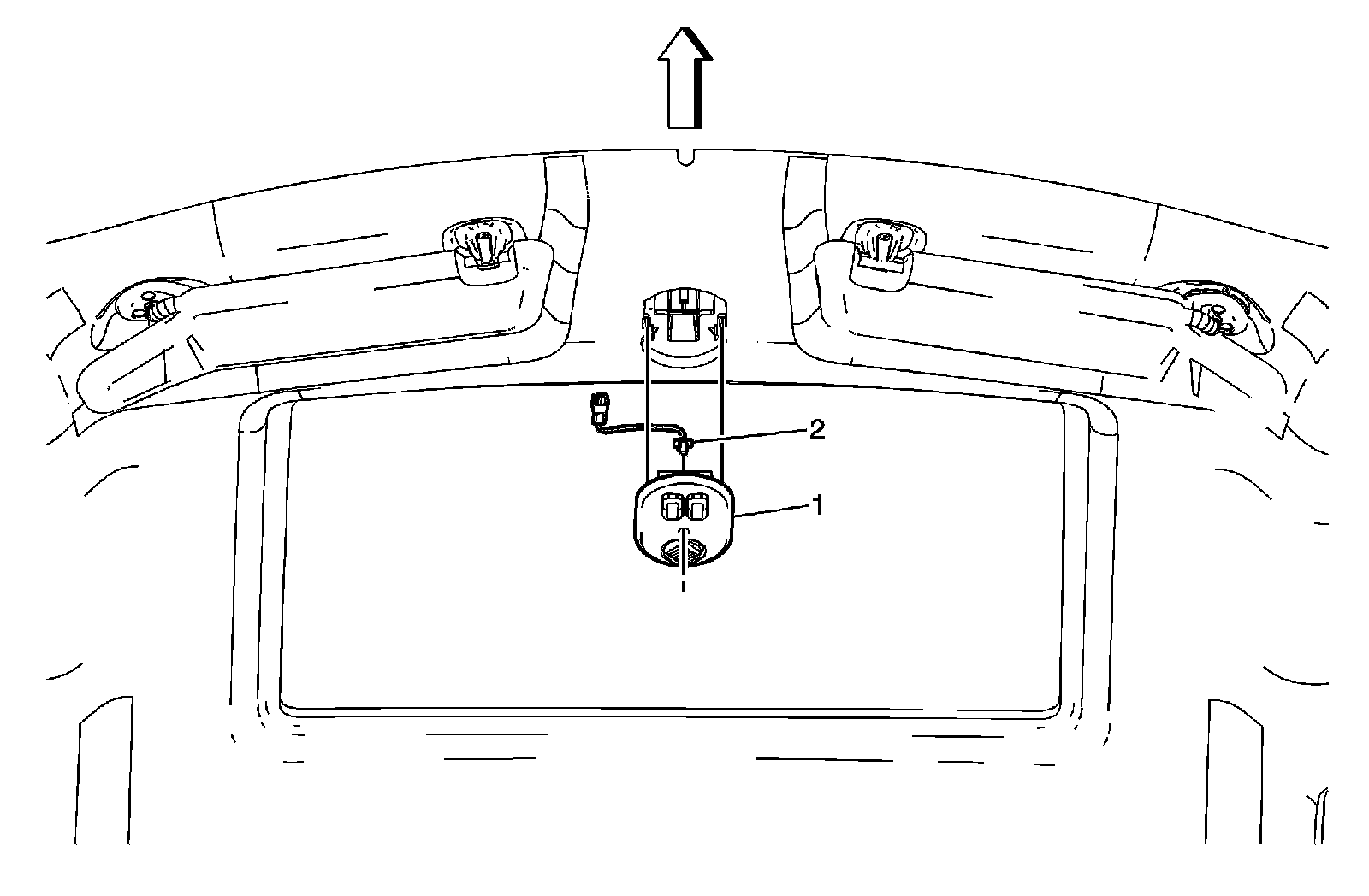
Front Floor Console Flood Lamp Replacement