Curiosii for ever!: Car repair manuals for everyone.

Wiper Gear Box: Service and Repair




Windshield Wiper Transmission Replacement

Special Tools
* J 39232 Wiper Linkage Separator
* J 39529 Wiper Linkage Installer

Removal Procedure




1. Remove the wiper arms. Refer to Windshield Wiper Arm Replacement (Service and Repair).
2. Remove the air inlet grille panel. Refer to Air Inlet Grille Panel Replacement (Service and Repair).




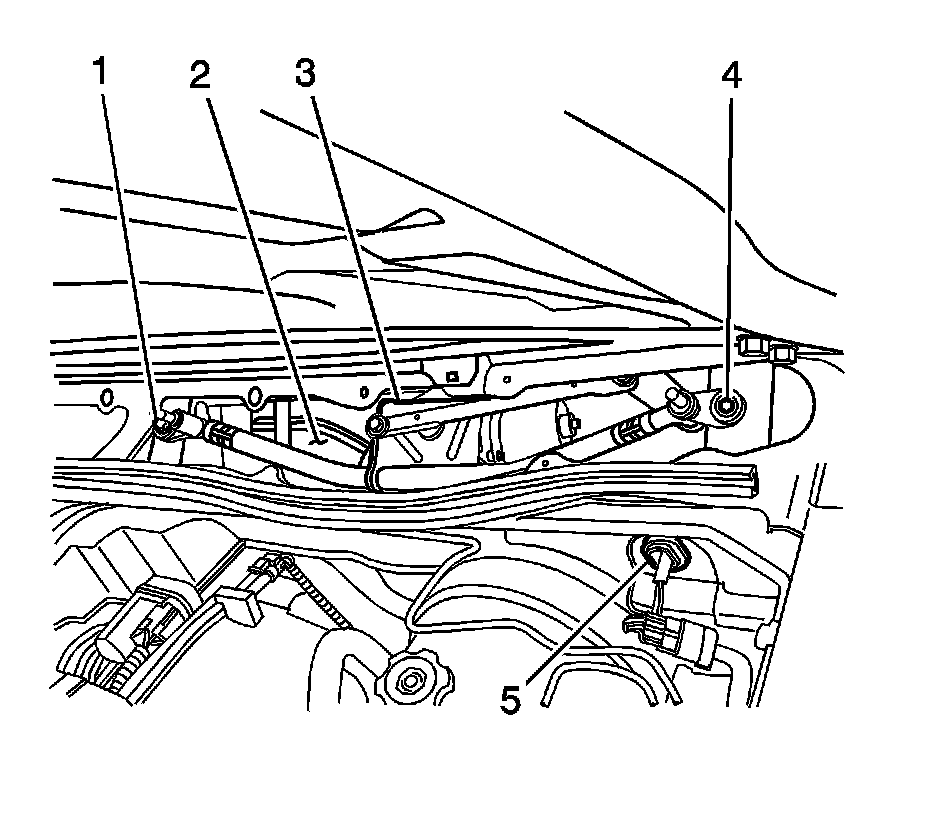
3. Disconnect the electrical connector (3) for the wiper motor.
4. Push the electrical harness grommet (1) through the plenum panel into the cowl.




5. Remove the transmission fasteners (1, 4). Twist the transmission assembly in order to remove the transmission assembly from the cowl.
6. Remove the transmission (3) from the vehicle through the access openings in the top of the cowl.

Installation Procedure




1. Install the transmission (3) to the cowl area of the plenum. A slight twisting motion is needed in order to install.

Caution: Refer to Fastener Caution (Fastener Caution).

2. Install the transmission mounting bolts (1, 4).

Tighten the wiper transmission mounting bolts to 9 Nm (81 lb in).




3. Position the electrical harness grommet to the plenum panel hole (5).
4. Pull the harness toward the front of the vehicle in order to seat the harness grommet.
5. Connect the electrical connector.
6. Install the connector position assurance tab (CPA) to the harness connector.
7. Cycle the wiper system 1 time with the wiper motor switch.
8. Install the air inlet grille panel. Refer to Air Inlet Grille Panel Replacement (Service and Repair).
9. Install the wiper arms. Refer to Windshield Wiper Arm Replacement (Service and Repair).
10. Test the wiper system.