Correction
CorrectionCamshaft End Play Measurement Procedure
Remove the camshaft cover from the suspect cylinder head.
Two methods for measuring camshaft end play:
Method 1: Dial Indicator
- Set-up a dial indicator on the camshaft to be measured. Set the dial indicator to measure the axial movement of the camshaft. To minimize measurement error, the dial indicator needs to be on the same axis as the camshaft. A magnetic mount can be placed on the frame rail or a piece of steel plate can be bolted to the top of the head as a reference surface for the dial indicator. The dial indicator should have 0.1 mm (0.001 in) of resolution.
- Position a screwdriver or small pry bar between the camshaft cap and camshaft lobe. Apply force to move the camshaft rearward.
- Be cautious not to damage the camshaft lobe while applying this force.
- Zero the dial indicator.
- Apply force to move the camshaft forward (towards the camshaft phasers).
- Read the dial indicator. This is the end play of the camshaft shaft.
Notice
Do not use the phaser bolt as a pry point. This may cause damage to the camshaft sensor target wheel or the head to camshaft cover sealing surface.
Method 2: Caliper
The caliper should have 0.1 mm (0.001") of resolution.
- Position a screwdriver or medium pry bar between the camshaft cap and camshaft lobe. Be cautious not to damage the camshaft lobe while applying this force.
- Apply force to move the camshaft rearward.
- Measure and record the distance between the camshaft cap and the camshaft lobe.
- Re-measure and record the distance between the camshaft cap and camshaft lobe. Subtract the two readings; this is the camshaft shaft end play.
Camshaft Position Actuator to Front Camshaft Cap Measurement Procedure
Important
Before performing this procedure, inspect the rear of the camshaft position actuator. Refer to the pictures below to determine which actuator is installed on the vehicle. Use the appropriate procedure listed below.
Aisin Actuator (5 Screw Design, Use 2.5 mm Hex Wrench)
Delphi Actuator (4 Screw Design, Use 2.0 mm Hex Wrench)
5 Screw Aisin Design Actuator
Use a 2.5 mm hex (allen) wrench as a determination gauge to measure the gap between the rear of the camshaft position actuator and the front camshaft cap of both camshafts of the suspect head.
1. Position a screwdriver or medium pry bar between the camshaft cap and camshaft lobe.
2. Apply force to move the camshaft FORWARD. Be cautious not to damage the camshaft lobe while applying this force.
3. With the camshaft moved fully FORWARD, try to insert the 2.5 mm hex (allen) wrench between the intake camshaft position actuator and the front camshaft cap. It may be necessary to turn the wrench to align the flat sides of the wrench with the gap between the actuator and the cap.
4. If the wrench fits between the camshaft position actuator and the front camshaft cap, it will be necessary to replace the cylinder head assembly. WHEN REPLACING THE CYLINDER HEAD, ALSO INSTALL A THRUST WASHER BETWEEN EACH CAMSHAFT POSITION ACTUATOR AND THE FRONT CAMSHAFT CAP. See parts table for correct trust washer part number: Delphi vs Aisin design.
5. If the wrench DOES NOT fit between the camshaft position actuator and the front camshaft cap, install the camshaft thrust washers between BOTH camshaft position actuators and the front camshaft cap on the suspect head. Follow the Camshaft Thrust Washer Installation procedure below. See parts table for correct trust washer part number: Delphi vs Aisin design.
4 Screw Delphi Design Actuator
Use a 2.0 mm hex (allen) wrench as a determination gauge to measure the gap between the rear of the camshaft position actuator and the front camshaft cap of both camshafts of the suspect head.
1. Position a screwdriver or medium pry bar between the camshaft cap and camshaft lobe.
2. Apply force to move the camshaft FORWARD. Be cautious not to damage the camshaft lobe while applying this force.
3. With the camshaft moved fully FORWARD, try to insert the 2.0 mm hex (allen) wrench between the intake camshaft position actuator and the front camshaft cap. It may be necessary to turn the wrench to align the flat sides of the wrench with the gap between the actuator and the cap.
4. If the wrench fits between the camshaft position actuator and the front camshaft cap, it will be necessary to replace the cylinder head assembly and replace both actuators. It is not necessary to replace the camshaft position actuators on the cylinder head that is not being replaced. WHEN REPLACING THE CYLINDER HEAD, ALSO INSTALL A THRUST WASHER BETWEEN EACH CAMSHAFT POSITION ACTUATOR AND THE FRONT CAMSHAFT CAP. See parts table for correct trust washer part number: Delphi vs Aisin design.
5. If the wrench DOES NOT fit between the camshaft position actuator and the front camshaft cap, install the camshaft thrust washers between BOTH camshaft position actuators and the front camshaft cap on the suspect head. Follow the Camshaft Thrust Washer Installation procedure below. See parts table for correct trust washer part number: Delphi vs Aisin design.
Camshaft Thrust Washer Installation Procedure
Special Tools
- EN 48313 Timing Chain Retention Tool (2009 and Prior - Both Heads, 2010 LAU Engine - Both Heads, 2010 - Left Head Only)
- EN 49982 Timing Chain Retention Tool (2010 - Right Head Only)
Tip
The cylinder head gasket kit contains all the gaskets and seals necessary to perform this repair.
1. Disconnect the engine wiring harness electrical connectors from the intake and exhaust camshaft position (CMP) actuator solenoid valves and sensors.
2. Remove the intake and exhaust CMP sensor bolts and sensors.
3. Remove the intake and exhaust CMP actuator solenoid valve bolts and valves.
Important
Rotate the crankshaft balancer bolt in a clockwise direction ONLY.
4. Rotate the crankshaft balancer using the balancer bolt until the camshafts are in a neutral (low tension) position. The flats on the rear of the camshafts will be parallel with the camshaft cover rail (1).
5. Use a paint stick to create an alignment mark on one of the timing chain links (2) and the adjacent tooth on the exhaust camshaft position actuator (1).
6. Use a paint stick to create an alignment mark on one of the timing chain links (3) and the adjacent tooth on the intake camshaft position actuator (4).
7. Use an open end wrench on the hex cast into the camshaft in order to prevent engine rotation when loosening the camshaft position actuator bolts. Slightly loosen the camshaft position actuator bolts. DO NOT remove the bolts.
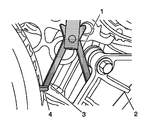
8. Unscrew the Timing Chain Retention Tool so that the legs of the tool are retracted.
9. Insert the Timing Chain Retention Tool between the camshaft actuators, rearward of the timing chain until the bottom line that is scribed in the body of the tool (2) is adjacent to the top surface of the cylinder head (1). This is the approximate installed position.
Important
The engine front cover is removed for clarity in the following graphics, but NOT required to perform the procedure.
10. Ensure that the feet (4) on the legs of the tool are facing the front of the engine.
11. Partially expand the legs (1, 3) of the Timing Chain Retention Tool by turning the T-shaped handle clockwise.
12. Insert the leg of the tool (1) behind the timing chain guide (2).
13. Continue expanding the Timing Chain Retention Tool until the legs (1, 3) contact the timing chain. Do not tighten at this time.
Important
Ensure that the foot (1) of the Timing Chain Retention Tool is engaged into one of the link pockets to prevent tool slippage during tightening of the Timing Chain Retention Tool.
14. Hand tighten the Timing Chain Retention Tool. If installed correctly, there should be a small amount of slack in the timing chain between the camshaft position actuator sprockets.
15. The Timing Chain Retention Tool is now properly installed to hold the timing chain in position.
Tip
It is not necessary to completely remove the camshaft actuator from the engine in order to install the thrust washers.
16. Remove the intake camshaft position actuator bolt.
17. Move the camshaft position actuator forward enough to slip the camshaft thrust washer over the front of the intake camshaft and position it against the cylinder head.
18. Position the intake camshaft actuator to the camshaft and install the actuator bolt hand tight. If necessary, slightly rotate the camshaft to engage the timing pin.
19. Remove the exhaust camshaft position actuator bolt.
20. Move the camshaft position actuator forward enough to slip the camshaft thrust washer over the front of the exhaust camshaft and position it against the cylinder head.
21. Position the exhaust camshaft actuator to the camshaft and install the actuator bolt hand tight. If necessary, slightly rotate the camshaft to engage the timing pin.
22. Remove the Timing Chain Retention Tool EN-48313.
23. Tighten the intake and exhaust camshaft position actuator bolts. Use an open end wrench on the hex cast into the camshaft in order to prevent engine rotation when tightening the camshaft position actuator bolts. Verify that the paint marks on the timing chain and camshaft position actuators are aligned.
Tighten
Tighten the bolts to 58 Nm (43 lb ft).
24. Install the intake and exhaust camshaft position actuator solenoid valves and bolts.
Tighten
Tighten the bolts to 10 Nm (89 lb in).
25. Install the intake and exhaust camshaft position sensors and bolts.
Tighten
Tighten the bolts to 10 Nm (89 lb in).
26. Connect the engine wiring harness electrical connectors to the intake and exhaust camshaft position (CMP) sensors and actuator solenoid valves.