Curiosii for ever!: Car repair manuals for everyone.

Quarter Window Glass: Service and Repair




Quarter Window Replacement

Special Tools
* J 24402-A Glass Sealant Remover (Cold Knife)
* J 39032 Stationary Glass Removal Tool
* Use a urethane adhesive systems which meet GM Specification GM 3651G

Removal Procedure

Warning: Refer to Cracked Window Warning (Cracked Window Warning).


Note: Before cutting out a bodyside window, apply a double layer of masking tape around the perimeter of the painted surfaces and the interior trim.

1. Open the liftgate.
2. Remove the rear quarter panel trim. Refer to Quarter Upper Trim Panel Replacement (With AXS) (Quarter Upper Trim Panel Replacement (With AXS))Quarter Upper Trim Panel Replacement (Except AXS) (Quarter Upper Trim Panel Replacement (Except AXS)).
Warning: Refer to Defroster Outlet Warning (Service Precautions).

3. Cover the following parts to protect from broken glass:

* Upper dash pad
* Defroster outlets and A/C outlets
* Seats and carpeting




Warning: Refer to Glass and Sheet Metal Handling Warning (Glass and Sheet Metal Handling Warning).


Note: Keep the cutting edge of the tool against the window.

4. Remove the window from the urethane adhesive.

* Leave a base of urethane approximately 2 mm (0.078 in) on the pinch-weld flange.
* The only suitable lubrication is clear water.
* Use J 24402-A , J 39032 , or equivalent to remove the window.




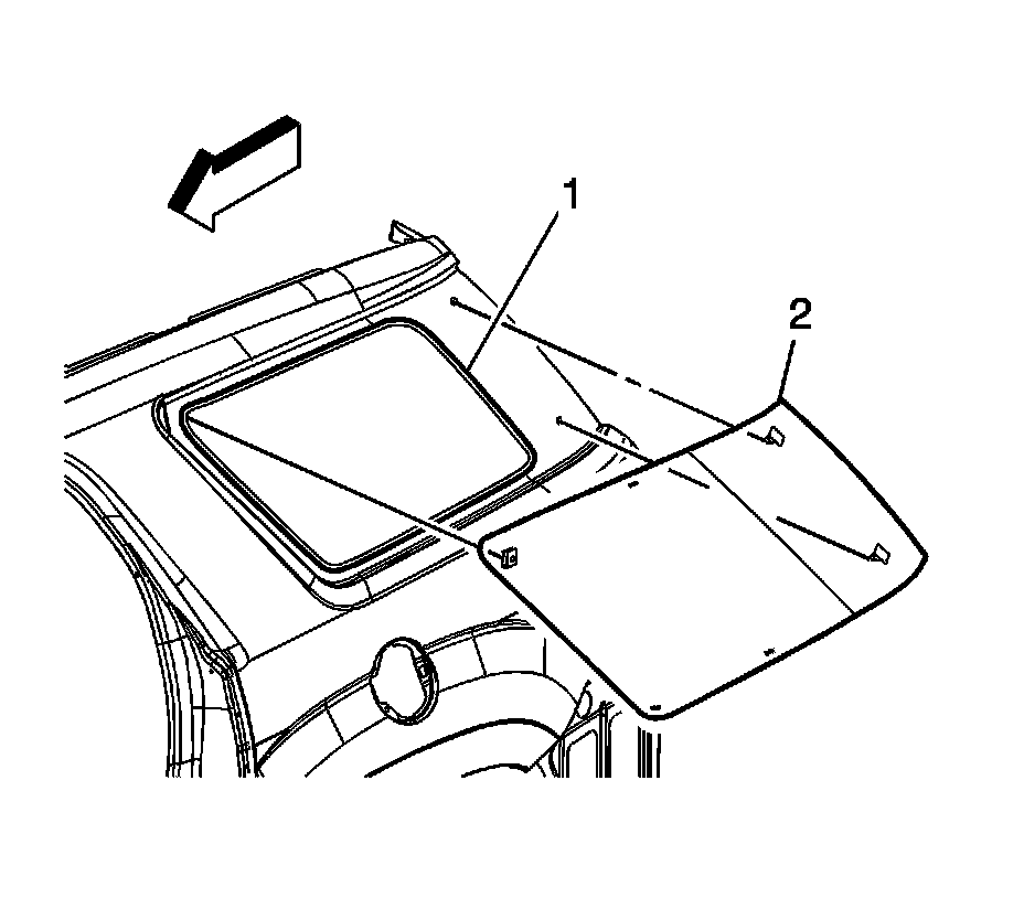
5. With the aid of an assistant (2), remove the window (1) from the vehicle.

Installation Procedure

1. Install the bodyside window into the opening. Refer to Adhesive Installation of Bodyside Stationary Windows (Adhesive Installation of Bodyside Stationary Windows).
2. Install the rear quarter upper trim panel. Refer to Quarter Upper Trim Panel Replacement (With AXS) (Quarter Upper Trim Panel Replacement (With AXS))Quarter Upper Trim Panel Replacement (Except AXS) (Quarter Upper Trim Panel Replacement (Except AXS)).
3. Remove the double layer of masking tape around the perimeter of the painted surfaces and the interior trim.
4. Close the liftgate.