Curiosii for ever!: Car repair manuals for everyone.

VIN 6




Thread Repair Specifications

Cylinder Head - Exhaust View









Cylinder Head - Intake View









Cylinder Head - Top View









Cylinder Head - Rear View









Cylinder Head - Front View









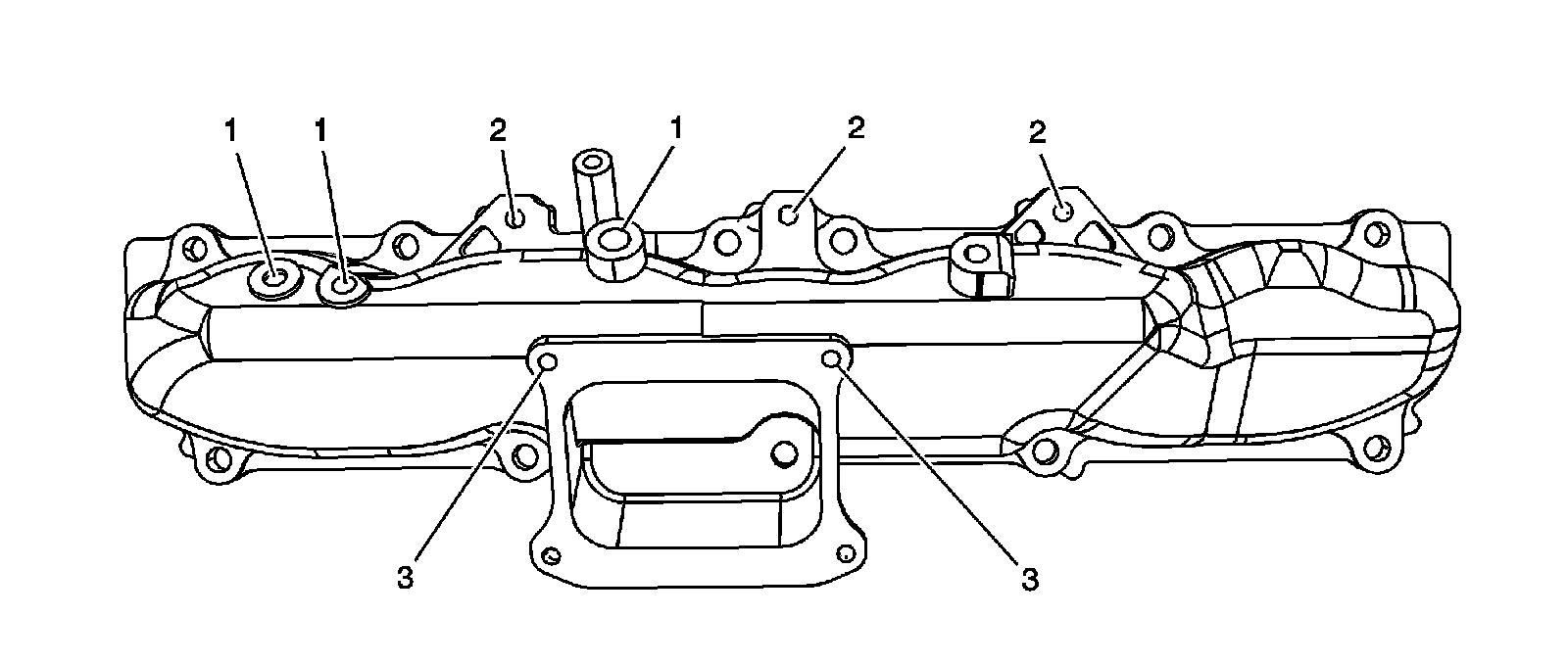
Intake Manifold - Right Side View









Intake Manifold - Left Side View









Oil Cooler









EGR Cooler - Rear View









EGR Cooler - Front View









EGR - Top View









Thermostat Housing - Top View









AC Bracket









Generator Bracket - Front View









Generator Bracket - Rear View









Generator Bracket - Side View









Engine Front Cover - Front View









Engine Front Cover - Side View









Engine Front Cover - Bottom View









Lower Rocker Arm Cover - Top View









Lower Rocker Arm Cover - Side View









Upper Rocker Arm Cover - Top View









Upper Rocker Arm Cover - Bottom View









Flywheel Housing - Rear View









Flywheel Housing - Top View









Flywheel Housing - Bottom View









Flywheel Housing - Right View









Flywheel Housing - Left View









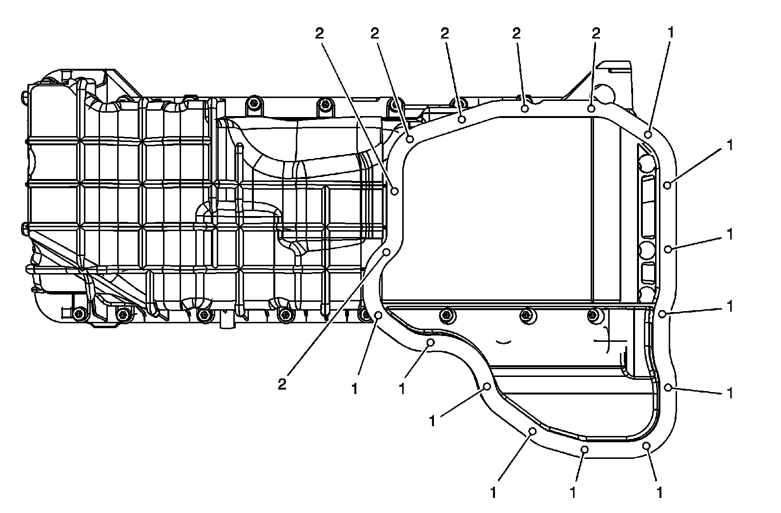
Upper Oil Pan - Bottom View









Upper Oil Pan - Top View









Upper Oil Pan - Front View









Upper Oil Pan - Rear View









Upper Oil Pan - Side View