Curiosii for ever!: Car repair manuals for everyone.

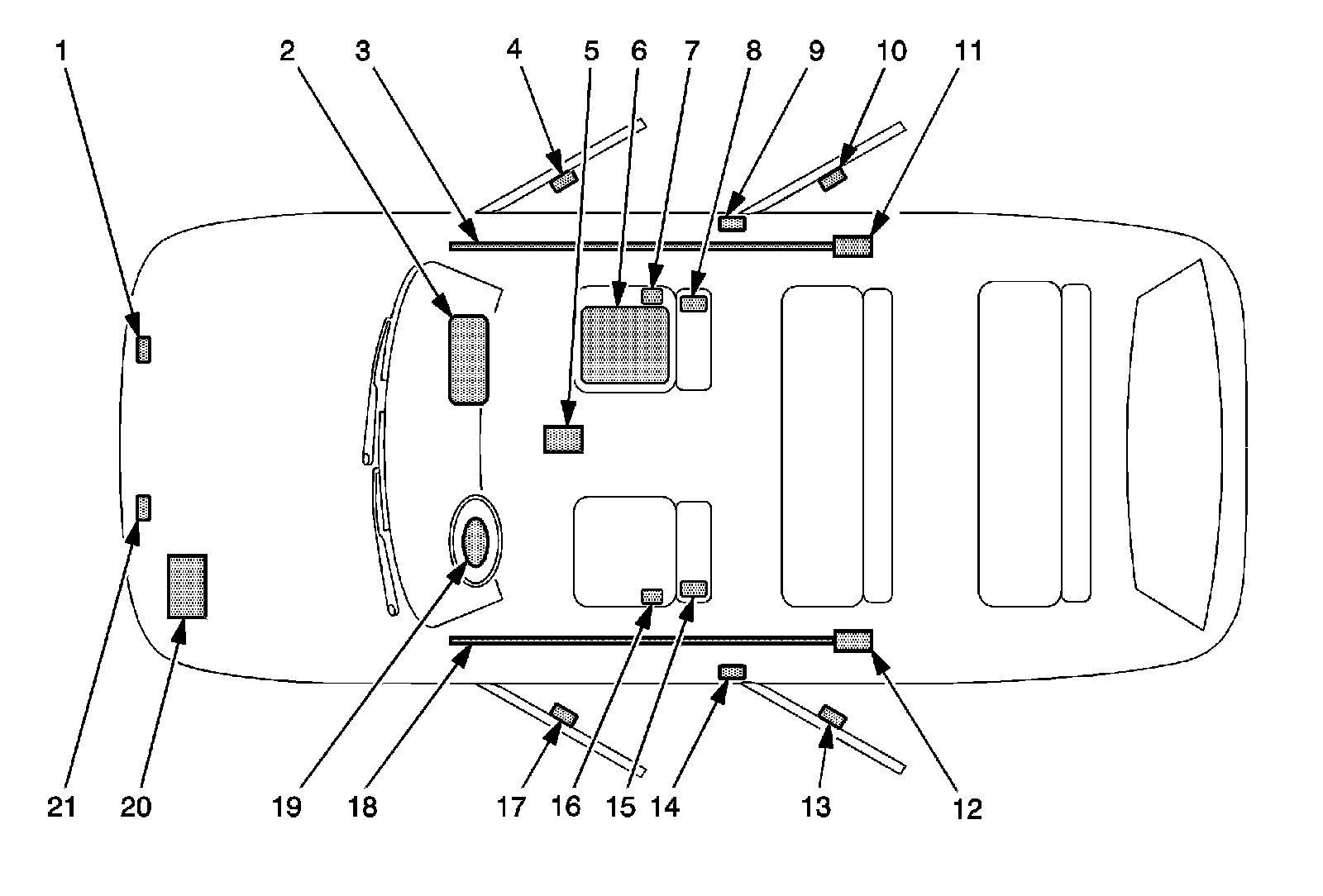
SIR Identification Views




SIR Identification Views

The SIR Identification Views shown below illustrate the approximate location of all SIR components available for the vehicle. This will assist in determining the appropriate SIR Disabling and Enabling for a given service procedure. Refer to SIR Disabling and Enabling (Service and Repair).




1 - Front End Sensor - Right-Located under the front hood in the engine compartment
2 - Instrument Panel Air Bag-Located at the top right under the instrument panel
3 - Roof Rail Air Bag - Right-Located under the headliner, extending from the passenger front windshield pillar to the passenger rear windshield pillar
4 - Right Front Side Impact Sensor-Located under the right front door trim near the lower rear of the door frame
5 - Inflatable Restraint Sensing and Diagnostic Module (SDM)-Located underneath the vehicle carpet under the center console
6 - Passenger Presence Detection System-Located under the front passenger sear trim cover (if equipped)
7 - Right Front Seat Belt Anchor Tensioner-Located on the outboard side of the passenger seat (if equipped)
8 - Passenger Side Seat Impact Air Bag-Located on the seat back of passenger seat (if equipped)
9 - Right Front Seat Belt Retractor Pretensioner-Located under the trim near the bottom of the center pillar
10 - Right Rear Side Impact Sensor-Located under the right rear door trim near the lower rear of the door frame
11 - Right Roof Rail Module-Located behind the garnish molding on the upper rear pillar
12 - Left Roof Rail Module-Located behind garnish molding on the upper rear pillar
13 - Left Rear Side Impact Sensor-Located under the left rear door trim near the lower rear of the door frame
14 - Left Front Seat Belt Retractor Pretensioner-Located under the trim near the bottom of the center pillar
15 - Driver Side Seat Impact Air Bag-Located on the seat back of the driver seat
16 - Left Front Seat belt Anchor Tensioner-Located on the outboard side of the driver seat
17 - Left Front Side Impact Sensor-Located under the left front door trim near the lower rear of the door frame
18 - Left Roof Rail Air Bag-Located under the headliner, extending from the driver front windshield pillar to the driver rear windshield pillar
19 - Steering Wheel Air Bag-Located on the steering wheel
20 - Vehicle Battery-Located at the front left of the engine compartment.
21 - Left Front End Sensor-Located under the front hood in the engine compartment