Curiosii for ever!: Car repair manuals for everyone.

Harness Routing Views




Harness Routing Views

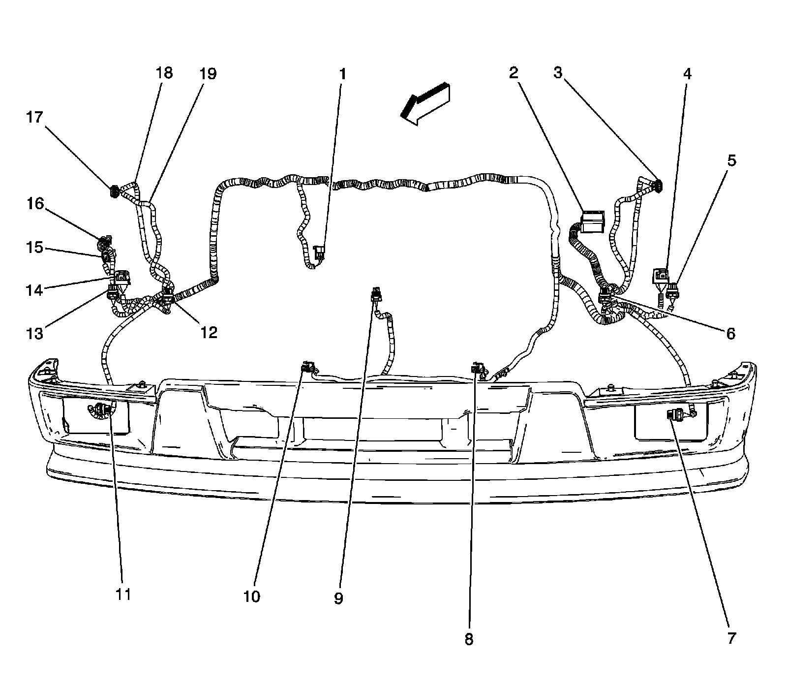
Forward Lamp Harness Routing




1 - Horn Assembly
2 - Fuse Block - Underhood X1
3 - X108 (Forward Lamp Harness to Front Turn Signal Harness)
4 - Headlamp - LH (-TT5)
5 - Headlamp - Low Beam - Left (TT5)
6 - Headlamp - High Beam - Left (TT5)
7 - Fog Lamp - Left Front (T96)
8 - Inflatable Restraint Front End Sensor - Left
9 - Ambient Air Temperature Sensor (DF8)
10 - Inflatable Restraint Front End Sensor - Right
11 - Fog Lamp - Right Front (T96)
12 - Headlamp - High Beam - Right (TT5)
13 - Headlamp - Low Beam - Right (TT5)
14 - Headlamp - RH (-TT5)
15 - X104 (Forward Lamp Harness to Body Harness)
16 - X103 (Forward Lamp Harness to Body Harness)
17 - X107 (Forward Lamp Harness to Front Turn Signal Harness)
18 - Forward Lamp Harness (TT5)
19 - Forward Lamp Harness (-TT5)

Engine Harness Routing 1 of 2 (LLV)




1 - Engine Control Module (ECM) X2
2 - Engine Control Module (ECM) X3
3 - Throttle Body Connector
4 - Manifold Absolute Pressure (MAP) Sensor Connector
5 - Evaporative Emission (EVAP) Canister Purge Solenoid Connector
6 - Knock Sensor (KS) Connector
7 - Generator Connector
8 - Crankshaft Position (CKP) Sensor Connector
9 - X105 (NP1)
10 - Fuse Block - Underhood X2
11 - A/C Compressor Clutch Connector
12 - G101
13 - G103
14 - G102
15 - Engine Oil Pressure (EOP) Sensor Connector
16 - Camshaft Position (CMP) Sensor Connector
17 - X100 (NP1)
18 - Camshaft Position (CMP) Actuator Solenoid - Bank 1 Exhaust Connector
19 - Intake Air Temperature (IAT)/Mass Air Flow (MAF) Sensor Connector

Battery Cable Harness Routing




1 - G104
2 - Starter
3 - Generator X2
4 - Battery
5 - G100
6 - Battery Negative Terminal
7 - Fuse Block - Underhood
8 - Ring Terminal Battery
9 - Ring Terminal Generator
10 - Battery Positive Terminal
11 - Generator

Body Harness Routing 1 of 3 (Regular Cab)




1 - Wheel Speed Sensor (WSS) - Left Front Connector
2 - Brake Fluid Level Switch Connector
3 - Windshield Wiper Motor Connector
4 - Pass-through Grommet
5 - Electronic Brake Control Module (EBCM) Connector
6 - G105
7 - X102 (Body Harness to Chassis Harness)
8 - X105 (NP1)
9 - Fuse Block - Underhood X4
10 - Fuse Block - Underhood X5
11 - Fuse Block - Underhood X7
12 - Fuse Block - Underhood X6
13 - X104 (Forward Lamp Harness to Body Harness), X103 (Forward Lamp Harness to Body Harness)
14 - G106
15 - Wheel Speed Sensor (WSS) - Right Front Connector
16 - Engine Control Module (ECM) X1
17 - Windshield Washer Fluid Pump Connector
18 - Pass-through Grommet
19 - A/C Refrigerant Pressure Sensor (C60) Connector

Body Harness Routing 1 of 3 (Extended Cab)




1 - Wheel Speed Sensor (WSS) - Left Front
2 - Brake Fluid Level Switch
3 - Windshield Wiper Motor
4 - Pass-through Grommet
5 - Electronic Brake Control Module (EBCM)
6 - G105
7 - X102
8 - X105 (NP1)
9 - Fuse Block - Underhood X4
10 - Fuse Block - Underhood X5
11 - Fuse Block - Underhood X7
12 - Fuse Block - Underhood X6
13 - X104 and X103
14 - G106
15 - Wheel Speed Sensor (WSS) - Right Front
16 - Powertrain Control Module (PCM) X1
17 - Windshield Washer Fluid Pump
18 - Pass-through Grommet
19 - A/C Refrigerant Pressure Sensor (C60)


Body Harness Routing 1 of 3 (Crew Cab)




1 - Wheel Speed Sensor (WSS) - Left Front
2 - Brake Fluid Level Switch
3 - Windshield Wiper Motor
4 - Pass-through Grommet
5 - Electronic Brake Control Module (EBCM)
6 - G105
7 - X102 (Body Harness to Chassis Harness)
8 - X105 (NP1)
9 - Fuse Block - Underhood X4
10 - Fuse Block - Underhood X5
11 - Fuse Block - Underhood X7
12 - Fuse Block - Underhood X6
13 - X104 and X103
14 - G106
15 - Wheel Speed Sensor (WSS) - Right Front
16 - Engine Control Module (ECM) X1
17 - Windshield Washer Fluid Pump
18 - Pass-through Grommet
19 - A/C Refrigerant Pressure Sensor (C60)