Curiosii for ever!
: Car repair manuals for everyone.
Home
>>
Chevy Truck
>>
2009
>>
Traverse FWD V6-3.6L
>>
Repair and Diagnosis
>>
Wiper and Washer Systems
>>
Wiper Arm
>>
Service and Repair
>>
Windshield Wiper Arm Replacement
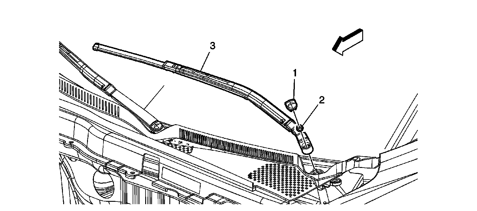
Windshield Wiper Arm Replacement
Windshield Wiper Arm Replacement (Traverse)