Curiosii for ever!
: Car repair manuals for everyone.
Home
>>
Chevy Truck
>>
2009
>>
Traverse AWD V6-3.6L
>>
Repair and Diagnosis
>>
Wiper and Washer Systems
>>
Wiper Gear Box
>>
Service and Repair
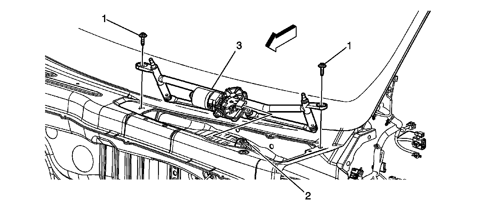
Wiper Gear Box: Service and Repair
Windshield Wiper Transmission Replacement