Curiosii for ever!: Car repair manuals for everyone.

Quarter Window Glass: Service and Repair




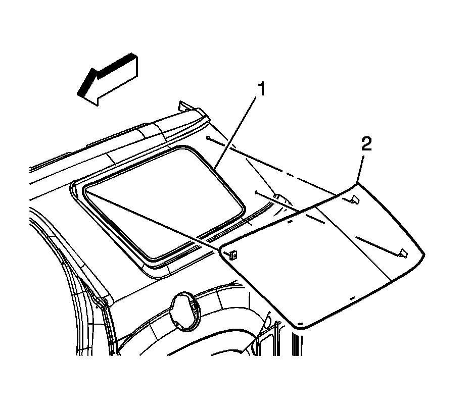
Quarter Window Replacement

Tools Required
* J 24402-A Glass Sealant Remover (Cold Knife)
* J 39032 Stationary Glass Removal Tool
* Use a urethane adhesive systems which meet GM Specification GM 3651G

Removal Procedure

Warning: Refer to Cracked Window Warning (Cracked Window Warning).


Note: Before cutting out a quarter window, apply a double layer of masking tape around the perimeter of the painted surfaces and the interior trim.

1. Open the liftgate.
2. Remove the rear quarter panel trim. Refer to Quarter Upper Trim Panel Replacement (with TB5) (Service and Repair)Quarter Upper Trim Panel Replacement (without TB4) (Service and Repair).
Warning: Refer to Defroster Outlet Warning (Service Precautions).

3. Cover the following parts to protect from broken glass:

* Upper dash pad
* Defroster outlets and A/C outlets
* Seats and carpeting

Warning: Refer to Glass and Sheet Metal Handling Warning (Glass and Sheet Metal Handling Warning).






Note: Keep the cutting edge of the tool against the window.

4. Remove the window from the urethane adhesive.

* Leave a base of urethane approximately 2 mm (0.078 in) on the pinch-weld flange.
* The only suitable lubrication is clear water.
* Use J 24402-A , J 39032 , or equivalent to remove the window.





Note: Keep the cutting edge of the knife/tool against the window. Do this from inside the vehicle.

5. If necessary, use a long utility knife or similar tool to remove the bottom corners of the window from the urethane adhesive.




6. With the aid of an assistant, remove the window (2) from the vehicle.

Installation Procedure

1. Install the quarter window into the opening. Refer to Adhesive Installation of Bodyside Stationary Windows (Adhesive Installation of Bodyside Stationary Windows).
2. Install the rear quarter upper trim panel. Refer to Quarter Upper Trim Panel Replacement (with TB5) (Service and Repair)Quarter Upper Trim Panel Replacement (without TB4) (Service and Repair).
3. Remove the double layer of masking tape around the perimeter of the painted surfaces and the interior trim.
4. Close the liftgate.