Curiosii for ever!
: Car repair manuals for everyone.
Home
>>
Chevy Truck
>>
2009
>>
Traverse AWD V6-3.6L
>>
Repair and Diagnosis
>>
Body and Frame
>>
Interior Moulding / Trim
>>
Utility Storage Compartment
>>
Service and Repair
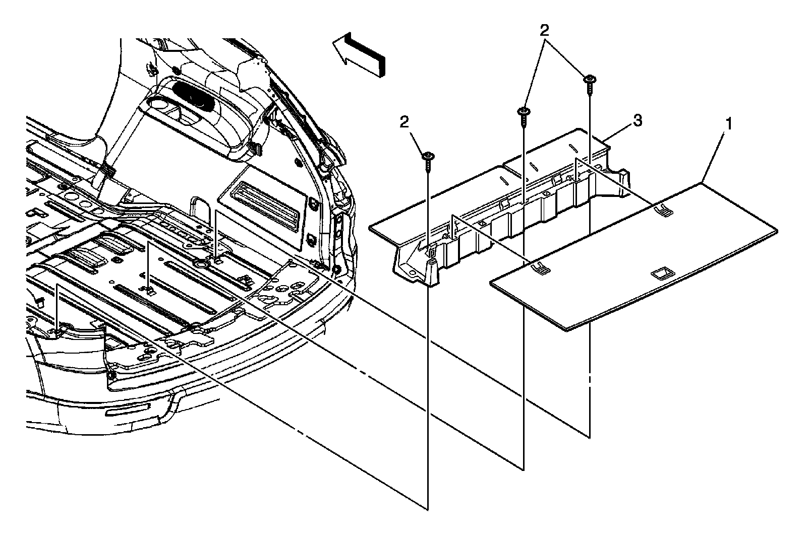
Utility Storage Compartment: Service and Repair
Rear Storage Compartment Replacement