Curiosii for ever!: Car repair manuals for everyone.

Air Injection Control Valve: Service and Repair




Secondary Air Injection Solenoid Valve Replacement

Removal Procedure

1. Remove the air cleaner outlet resonator. Refer to Air Cleaner Outlet Resonator Replacement (Service and Repair).




2. Disconnect the electrical connector from the secondary air injection (AIR) reaction solenoid valve.
3. Disconnect the AIR pump air outlet pipe from the AIR solenoid valve.




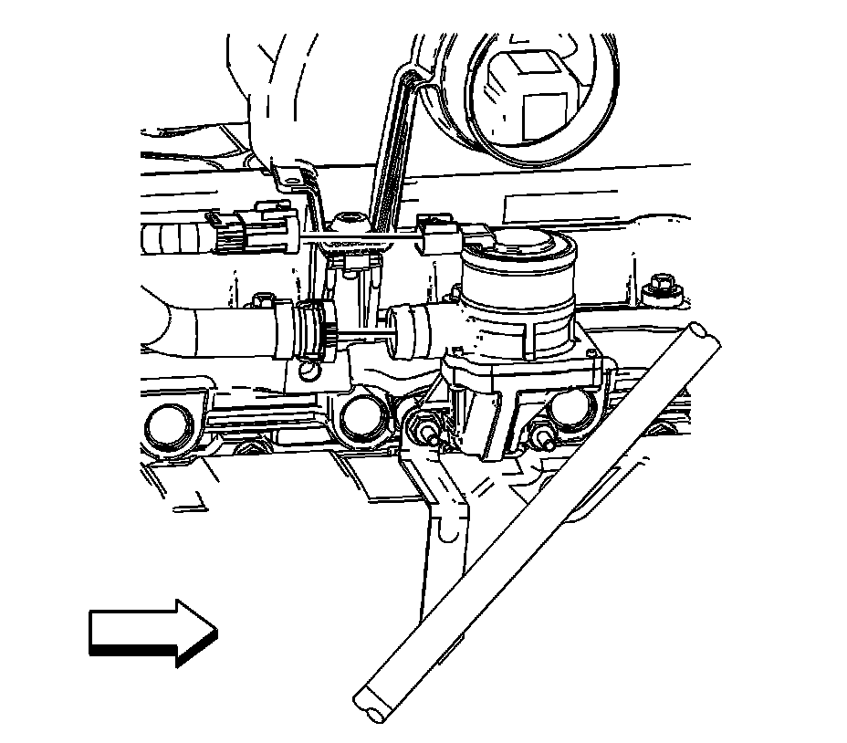
4. Remove the nut (1) securing the transmission fluid level indicator tube (2) to the AIR solenoid valve.
5. Remove the transmission fluid level indicator tube (2) from the AIR solenoid valve stud (3).
6. Remove the 2 AIR solenoid valve studs (3).
7. Remove the AIR solenoid valve (4) and the gasket (5) from the engine.

Installation Procedure




1. Install the AIR solenoid valve (4) and the gasket (5) to the engine.

Caution: Refer to Fastener Caution (Fastener Caution).

2. Install the 2 AIR solenoid valve studs (3).

Tighten the studs to 25 Nm (18 lb ft).

3. Install the transmission fluid level indicator tube (2) to the AIR solenoid valve stud (3).
4. Install the nut (1) securing the transmission fluid level indicator tube (2) to the AIR solenoid valve.

Tighten the nut to 10 Nm (89 lb in).




5. Connect the AIR pump air outlet pipe to the AIR solenoid valve.
6. Connect the electrical connector to the AIR solenoid valve.
7. Install the air cleaner outlet resonator. Refer to Air Cleaner Outlet Resonator Replacement (Service and Repair).