Curiosii for ever!
: Car repair manuals for everyone.
Home
>>
Chevy Truck
>>
2009
>>
HHR L4-2.2L
>>
Repair and Diagnosis
>>
Restraints and Safety Systems
>>
Head Restraint System
>>
Head Rest
>>
Service and Repair
>>
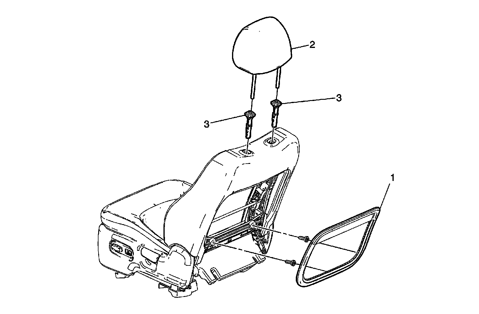
Front Seat Head Restraint Guide Replacement
Front Seat Head Restraint Guide Replacement
Front Seat Head Restraint Guide Replacement