Curiosii for ever!: Car repair manuals for everyone.

System Specifications

Surface Variation

Surface Flatness - Exhaust Manifold Deck - Production Value 0.1 mm (0.0039 in)
Surface Flatness - Intake Manifold Deck - Production Value 0.1 mm (0.0039 in)
Surface Flatness - Block Deck - Service Limit 0.2 mm (0.0079 in)
Surface Flatness - Block Deck - Production Value 0.075 mm (0.0030 in)
Surface Flatness - Exhaust Manifold Deck - Production Value 0.1 mm (0.0039 in)
Surface Flatness - Intake Manifold Deck - Production Value 0.1 mm (0.0039 in)

Exhaust Manifold
Surface Flatness- Production Value 0.3 mm (0.0118 in)

Intake Manifold

Surface Flatness - Production Value 0.3 mm (0.0118 in)

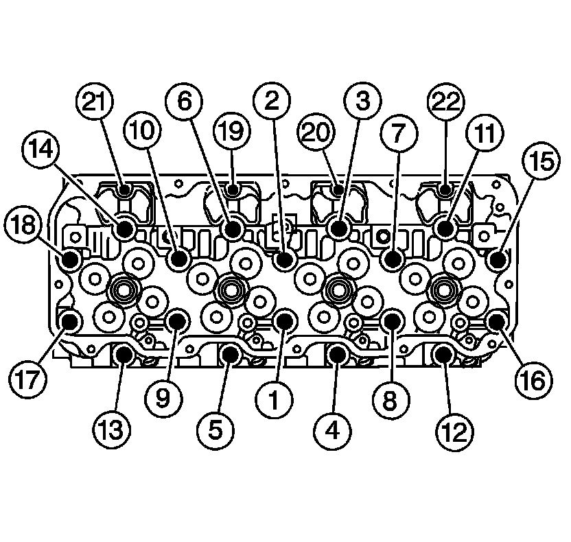
Cylinder Head





Cylinder Head M12 Bolt - Angular Tightening Method
1st Step 50 Nm (37 lb ft)
2nd Step 80 Nm (59 lb ft)
3rd Step 60 degrees
4th Step 60 degrees

Cylinder Head M8 Bolt 25 Nm (18 lb ft)

Note: This component uses bolts with a preapplied molybdenum disulfide coating for thread lubrication. Do not remove the coating or use any additional lubricant. Improperly lubricated threads will adversely affect the bolt torque and clamp load. Improper bolt torque and clamp load can lead to engine damage

Intake Manifold

Left:




Right:





Intake Manifold Bolts/Nuts 25 Nm (18 lb ft)

Exhaust Manifold
Exhaust Manifold Bolt/Nut 57 Nm (42 lb ft)

Camshaft Gear Bolt 234 Nm (173 lb ft)