Curiosii for ever!: Car repair manuals for everyone.

Housing Assembly HVAC: Service and Repair




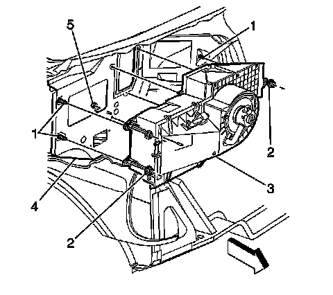
Air Conditioning (A/C) Evaporator and Blower Module Assembly Replacement

Special Tools

J 39400-A Halogen Leak Detector

Removal Procedure

1. Recover the refrigerant from the A/C system. Refer to Refrigerant Recovery and Recharging (Refrigerant Recovery and Recharging).
2. Remove the coolant recovery reservoir. Refer to Coolant Recovery Reservoir Replacement (Service and Repair).




3. Disconnect the low pressure sensor electrical connector (2).




4. Disconnect the blower motor assembly electrical connector.




5. Disconnect the blower motor resistor assembly electrical connector.




6. Remove the retaining nut (1) from the evaporator inlet tube.
7. Remove the evaporator inlet tube retaining screw.
8. Remove the evaporator inlet tube from the evaporator.
9. Remove the O-ring seal.




10. Remove the retaining nut (1) from the accumulator.
11. Remove the accumulator from the evaporator.
12. Remove the O-ring seal.




13. Remove the blower module assembly screws.
14. Remove the blower module assembly.
15. Remove the heater assembly. Refer to Heater Assembly Replacement (Service and Repair).




16. Remove the module assembly nuts (5).
17. Remove the module assembly nuts (2).
18. Remove the module from the vehicle.

Installation Procedure

1. Install the module from the vehicle.





Caution: Refer to Fastener Caution (Fastener Caution).

2. Install the module assembly nuts (2) and tighten to6 Nm (53 lb in).
3. Install the module assembly nuts (5) and tighten to6 Nm (53 lb in).
4. Install the heater assembly. Refer to Heater Assembly Replacement (Service and Repair).




5. Install the evaporator and blower module assembly.
6. Install the evaporator and blower module assembly retaining screws.
7. Install new O-ring seals. Refer to O-Ring Replacement (O-Ring Replacement).




8. Install the accumulator to the evaporator.
9. Install the accumulator retaining nut (1) and tighten to18 Nm (13 lb ft).
10. Install the evaporator inlet tube to the evaporator.




11. Install the evaporator inlet tube retaining nut (1) and tighten to16 Nm (12 lb ft).
12. Install the evaporator inlet tube retaining screw.




13. Connect the blower motor resistor assembly electrical connector.




14. Connect the blower motor assembly electrical connector.




15. Connect the low pressure sensor electrical connector (2).
16. Install the coolant recovery reservoir. Refer to Coolant Recovery Reservoir Replacement (Service and Repair).
17. Evacuate and recharge the A/C system. Refer to Refrigerant Recovery and Recharging (Refrigerant Recovery and Recharging).
18. Leak test the fittings of the components using the J 39400-A .