Seat Temperature Control Module: Locations
Passenger Compartment/Roof Component Views
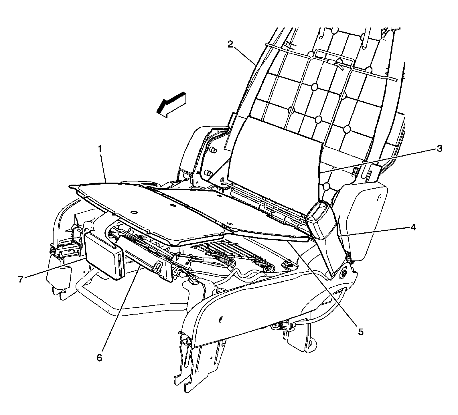
Manual Passenger Seat Components
1 - Inflatable Restraint Front Passenger Presence System (PPS) Sensor
2 - Seat Frame
3 - Heated Seat Element - Passenger Back (KA1)
4 - Seat Belt Buckle - Passenger
5 - Heated Seat Element - Passenger Cushion (KA1)
6 - Heated Seat Control Module (KA1)
7 - Inflatable Restraint Front Passenger Presence System (PPS) Module