Ambient Light Sensor: Service and Repair
Ambient Light Sensor Replacement
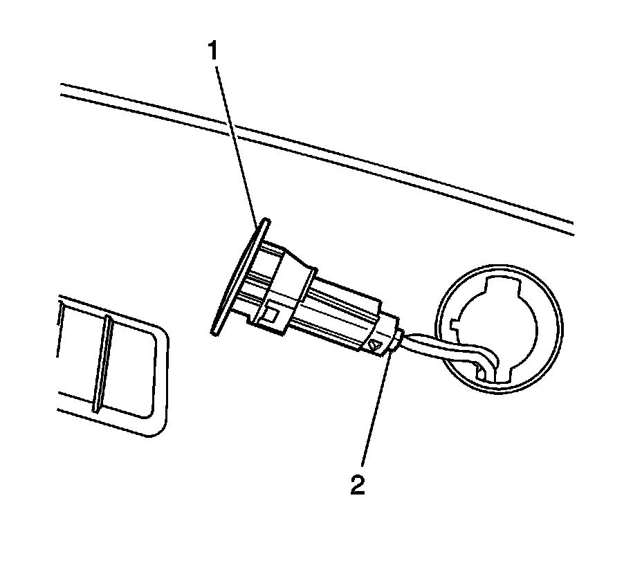
Removal Procedure
1. Carefully use a flat-bladed tool, and remove the sensor from the upper portion of the instrument panel (I/P).
2. Disconnect the electrical connector (2) from the sensor ensuring the connector does NOT fall through the hole in the I/P.
3. Remove the sensor from the vehicle.
Installation Procedure
1. Connect the electrical connector (2) to the sensor.
2. Align the sensor to the I/P for installation.
3. Apply downward pressure to the sensor head in order to seat the sensor to the I/P.