Curiosii for ever!: Car repair manuals for everyone.

Steering Column



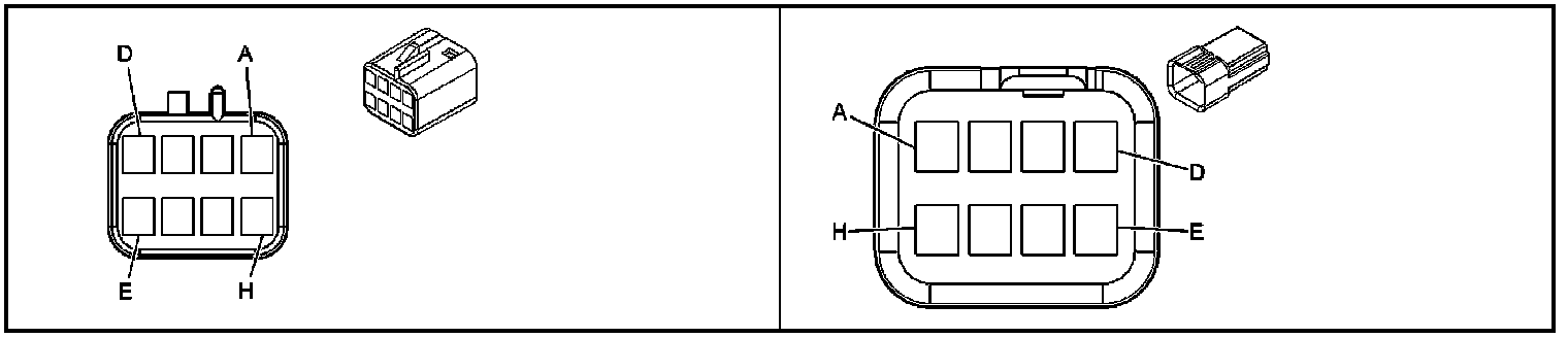
Inline Harness Connector End Views

X201 Steering Column Harness to the Instrument Panel Harness













X277 Inflatable Restraint Steering Wheel Module Coil to the Steering Column Harness (K34)













X277 Inflatable Restraint Steering Wheel Module Coil to the Steering Column Harness (- K34)