Curiosii for ever!
: Car repair manuals for everyone.
Home
>>
Chevy Truck
>>
2008
>>
Tahoe 2WD V8-6.0L Hybrid
>>
Repair and Diagnosis
>>
Heating and Air Conditioning
>>
Control Module HVAC
>>
Service and Repair
>>
HVAC - Automatic
>>
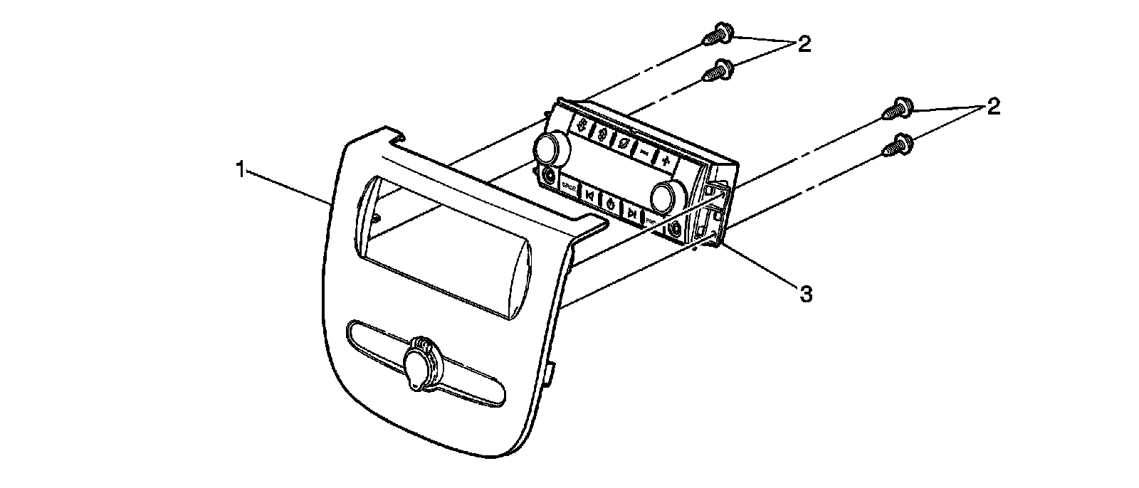
Auxiliary Heater and Air Conditioning Control Module Replacement
Auxiliary Heater and Air Conditioning Control Module Replacement
Auxiliary Heater and Air Conditioning Control Module Replacement