Curiosii for ever!
: Car repair manuals for everyone.
Home
>>
Chevy Truck
>>
2008
>>
Silverado 2500 2WD V8-6.6L DSL Turbo
>>
Repair and Diagnosis
>>
Transmission and Drivetrain
>>
Power Take-Off
>>
Service and Repair
>>
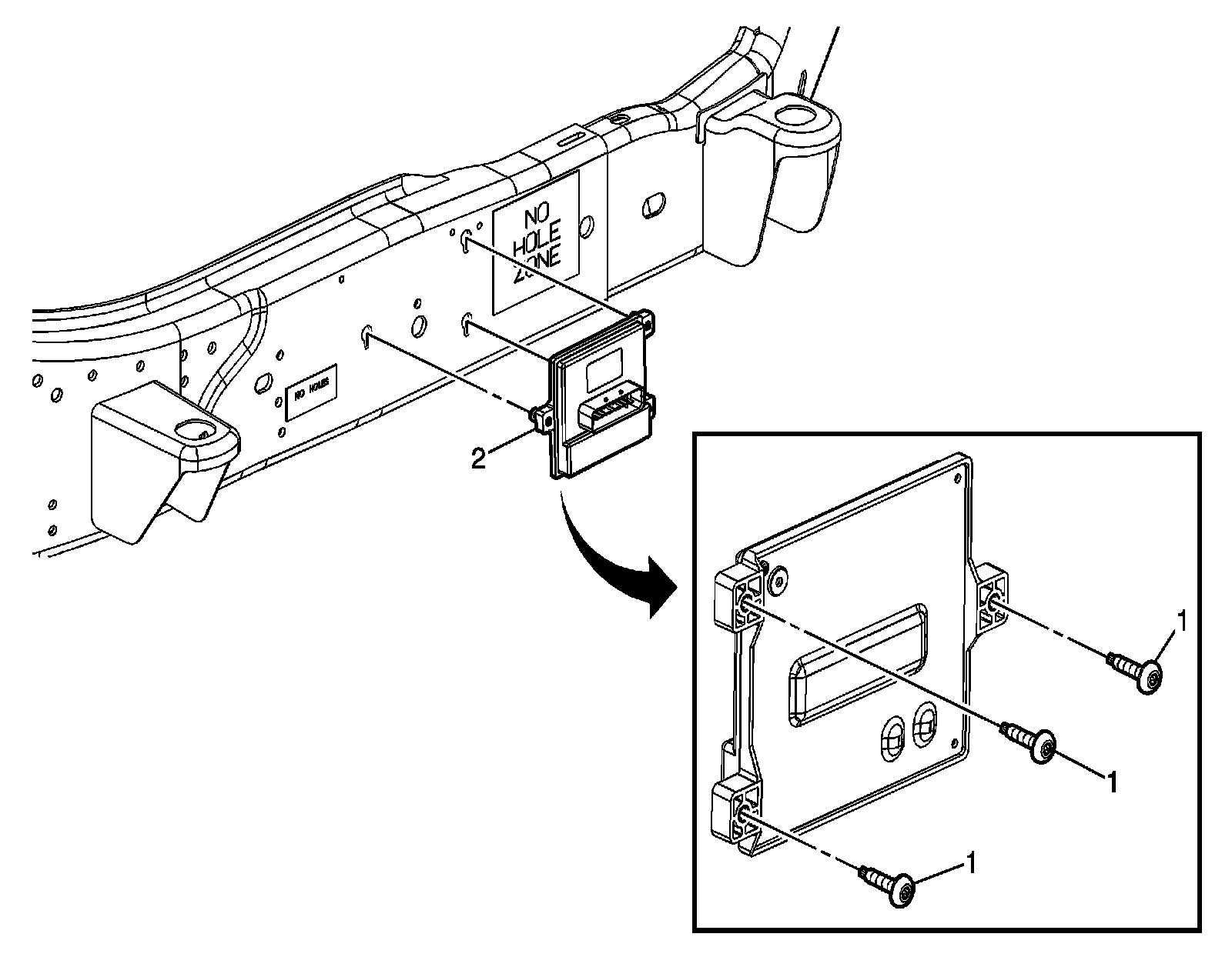
Engine Speed Power Take-Off Control Module Replacement
Engine Speed Power Take-Off Control Module Replacement
Engine Speed
Power Take-Off
Control Module Replacement