Curiosii for ever!: Car repair manuals for everyone.

System Specifications

Cylinder Head Surface Variation
Surface Flatness - Block Deck - Service Limit 0.2 mm (0.0079 in)
Surface Flatness - Block Deck - Production Value 0.075 mm (0.0030 in)

Cylinder Head Re-Usability
Notice: This component uses bolts with a preapplied molybdenum disulfide coating for thread lubrication. Do not remove the coating or use any additional lubricant. Improperly lubricated threads will adversely affect the bolt torque and clamp load. Improper bolt torque and clamp load can lead to engine damage.





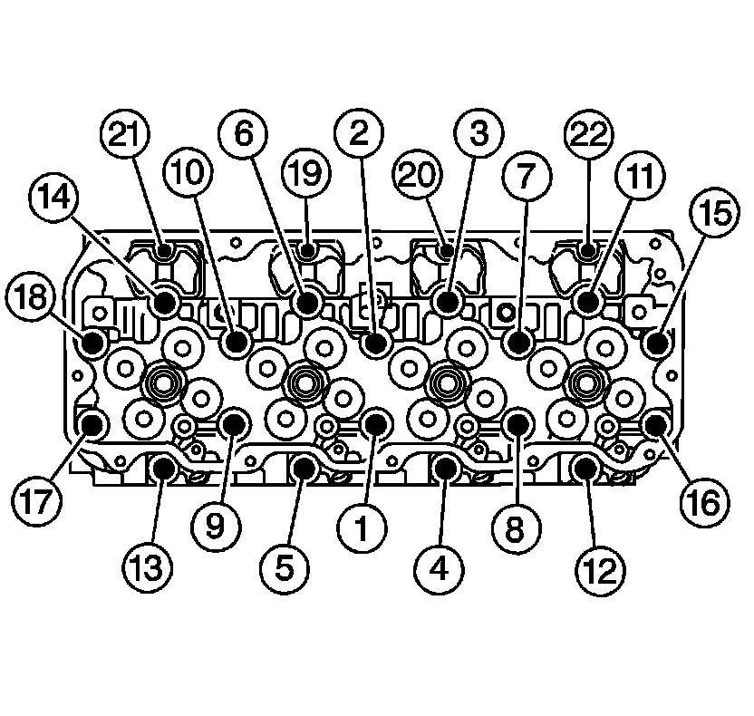
Cylinder Head M12 Bolt - Angular Tightening Method
1st Step 50 N.m
1st Step (37 lb ft)
2nd Step 80 N.m
2nd Step (59 lb ft)
3rd Step 60 degrees
4th Step 60 degrees

Cylinder Head M8 Bolt 25 N.m (18 lb ft)

Left Side:





Exhaust Manifold Bolt/Nut 57 N.m (42 lb ft)

Right Side:





Intake Manifold Bolts/Nuts 25 N.m (18 lb ft)