Curiosii for ever!
: Car repair manuals for everyone.
Home
>>
Chevy Truck
>>
2008
>>
Silverado 2500 2WD V8-6.6L DSL Turbo
>>
Repair and Diagnosis
>>
Powertrain Management
>>
Glow Plug System
>>
Glow Plug Control Module
>>
Diagrams
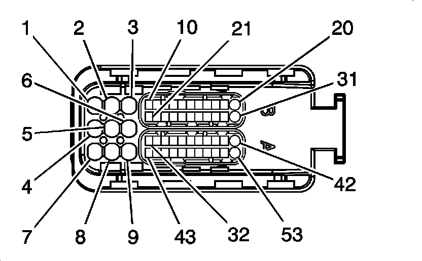
Glow Plug Control Module: Diagrams
Component Connector End Views
Glow Plug Control Module
(GPCM) X1 (Diesel)
Glow Plug Control Module
(GPCM) X2 (Diesel)