Curiosii for ever!: Car repair manuals for everyone.

Exhaust Temperature Sensor Replacement - Position 1



Exhaust Temperature Sensor Replacement - Position 1

Removal Procedure

Notice: The exhaust temperature sensor and exhaust pressure differential sensor line fittings may be difficult to remove when the engine exhaust system temperature is below 48°C (120°F). Excessive force may damage the threads in the exhaust manifold or exhaust pipe.




1. Raise and support the vehicle. Refer to Vehicle Lifting.
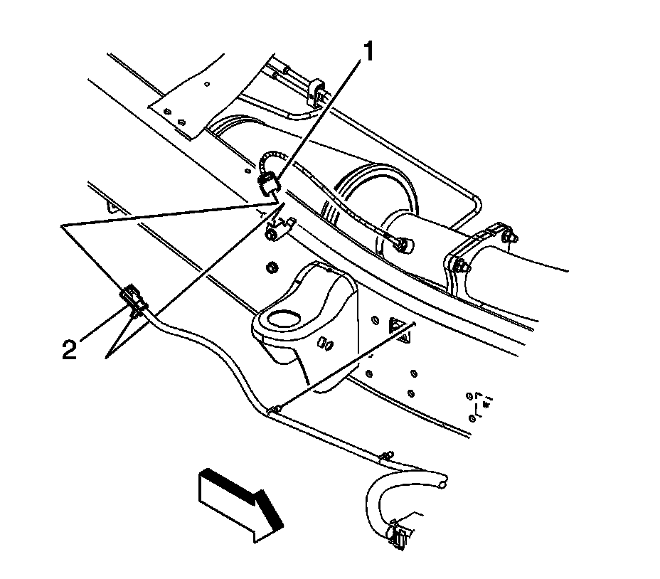
2. Disconnect the exhaust temperature sensor electrical connector (1) from the chassis wiring harness electrical connector (2).




3. Remove the exhaust temperature sensor.

Installation Procedure

Important: A special anti-seize compound is used in the sensor or line fittings threads. The compound consists of liquid graphite and glass beads. The graphite tends to burn away, but the glass beads remain, making the sensor or line fitting easier to remove. New, or service replacement sensors or line fittings already have the compound applied to the threads. If the sensor or line fittings are removed from an exhaust component and if for any reason the sensor or line fitting are reinstalled, the threads must have anti-seize compound applied before reinstallation.

1. If reinstalling the old temperature sensor or differential pressor sensor line fittings, coat the threads with anti-seize compound GM P/N 12377953, or equivalent.






Notice: Refer to Fastener Notice.

2. Install the exhaust temperature sensor.

Tighten the sensor to 45 N.m (33 lb ft).




3. Connect the exhaust temperature sensor electrical connector (1) to the chassis wiring harness electrical connector (2).
4. Lower the vehicle. Refer to Vehicle Lifting.