Curiosii for ever!
: Car repair manuals for everyone.
Home
>>
Chevy Truck
>>
2008
>>
Silverado 1500 4WD V8-5.3L
>>
Repair and Diagnosis
>>
Powertrain Management
>>
Computers and Control Systems
>>
Relays and Modules - Computers and Control Systems
>>
Engine Control Module
>>
Diagrams
>>
Diagram Information and Instructions
>>
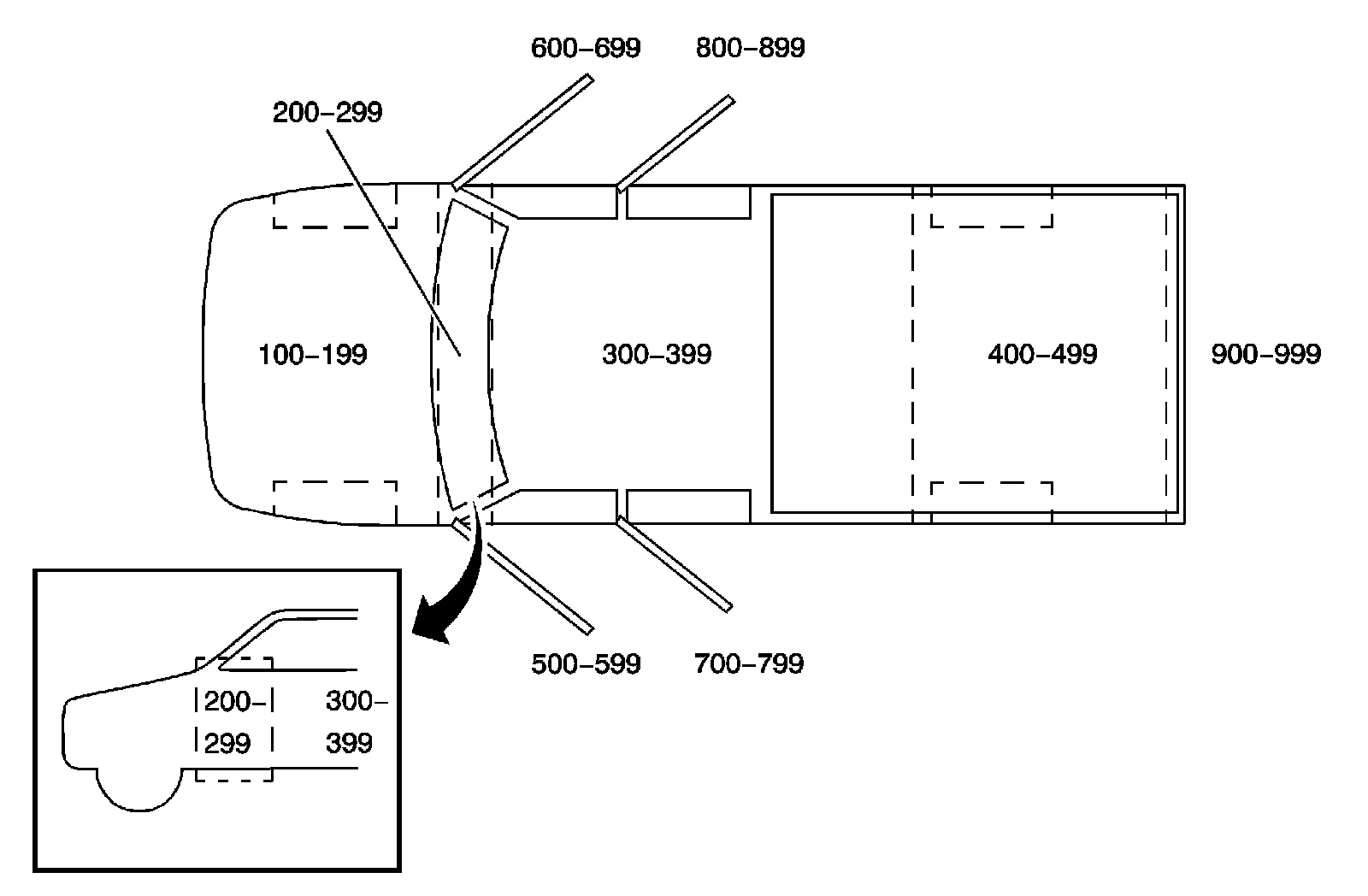
Vehicle Zoning Strategy
Vehicle Zoning Strategy
Truck Zoning
All grounds, in-line connectors, pass-through grommets, and splices have identifying numbers that corresponds to where they are located in the vehicle. The following table explains the numbering system.