Curiosii for ever!: Car repair manuals for everyone.

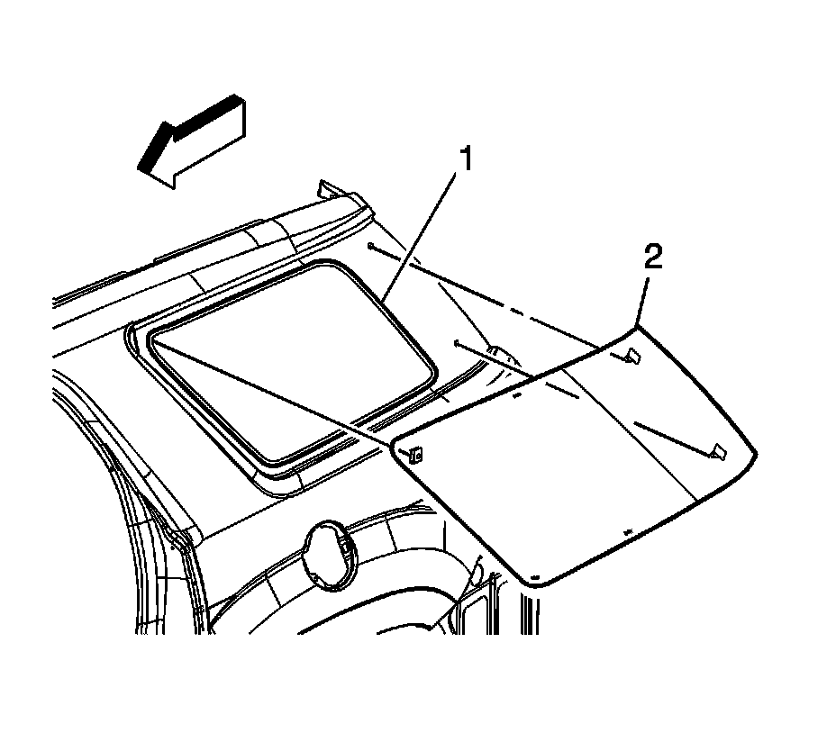
Adhesive Installation of Bodyside Stationary Windows



Adhesive Installation of Bodyside Stationary Windows

Caution: Refer to Glass and Sheet Metal Handling Caution (Glass and Sheet Metal Handling Caution) .

Important: Remove all but approximately 2 mm (3/64 in) of the existing bead of urethane adhesive from the pinch-weld flange.


1. Remove all mounds or loose pieces of urethane adhesive from the pinch-weld area.
2. If the original window is being reused, remove all but a thin film of the existing urethane adhesive from the window surface by using a clean utility knife or razor blade scraper.
3. Inspect the following components for the causes of a broken window:

* The flange of the window opening
* The window reveal molding

4. Inspect for any of the following conditions in order to help prevent future breakage of the window:

* High weld
* Solder spots
* Hardened sealer
* Any other obstruction or irregularity in the pinch-weld flange


Important: If corrosion of the pinch-weld flange is present or if sheet metal repairs or replacements are required, the pinch-weld flange must be refinished in order to restore the bonding area strength. If paint repairs are required, mask the flange bonding area prior to applying the color coat in order to provide a clean primer only surface. Materials such as BASF DE15(R), DuPont 2610(R), Sherwin-Williams PSE 4600 and NP70(R) and Martin-Semour 5120 and 5130(R) PPG DP90LF SPIES/HECKER 3688/8590 - 3688/5150 - 4070/5090 STANDOX 11158/13320 - 14653/14980 products are approved for this application.


5. After repairing the opening as indicated, perform the following steps:

1. Remove all traces of broken glass from the outer cowl panel, seats, floor and defroster ducts.
2. Clean around the edge of the inside surface of the window with a 50/50 mixture of isopropyl alcohol and water by volume on a dampened lint free cloth.

Caution: Refer to Window Retention Caution (Window Retention Caution) .

Caution: Failure to prep the area prior to the application of primer may cause insufficient bonding of urethane adhesive. Insufficient bonding of urethane adhesive may allow unrestrained occupants to be ejected from the vehicle resulting in personal injury.

6. Verify all primers and urethane adhesive are within expiration dates.

Important: Do not apply the black #3 primer to the existing bead (1) of the urethane adhesive on the pinch-weld flange. Apply the primer only to nicks, scratches or the primed surfaces.


7. Shake the pinch-weld primer black #3 for at least 1 minute.
8. Use a new dauber in order to apply the primer to the surface of the pinch-weld flange (1).
9. Allow the pinch-weld primer to dry for approximately 10 minutes.
10. If the original window is being reused, and the window reveal molding is damaged or becomes detached, replace the window reveal molding if equipped.




11. With the aid of an assistant, dry fit the window (1) to the opening in order to determine the correct position.
12. Ensure the window locator pins are positioned into the locator slots in the pinch-weld flange.
13. Use masking tape to mark the locations of the window in the opening.
14. Cut the masking in the center and remove the window from the opening.





Important: Use care when applying glass prep clear #1 on the window. This primer dries almost instantly, and may stain the viewing area of the window if not applied evenly.


15. Use a new dauber in order to apply glass prep clear #1 to the area approximately 18 mm (0.71 in) around the entire perimeter of the window inner surface.
Immediately wipe the glass primed area using a clean, lint-free cloth.




16. Apply a second coat of the glass prep clear #1 to the same area of the glass.





Important: The glass primer black #2 is effective up to 8 hours after applying it to the glass. The primed surface of the glass must be kept clean.


17. Shake the glass primer black #2 for at least 1 minute.
18. Use a new dauber in order to apply the glass primer black #2 to the same areas (2) that glass prep clear #1 was applied.
19. Allow the glass primer to dry for approximately 10 minutes.




20. Cut the applicator nozzle in order to provide a bead of 12.7 mm (1/2 in) wide and 12.7 mm (1/2 in) high.




21. Use a cartridge-type caulking gun in order to apply a smooth, continuous bead of urethane adhesive.




22. Use the edge of the window or the inside edge of the reveal molding as a guide for the nozzle in order to apply the urethane adhesive (1) to the inner surface of the window (3).




23. With the aid of an assistant, place the window (1) in the opening.
24. Align the masking tape lines on the window and the body.





Important: To prevent damage to the window due to objects impacting an exposed edge, upon installation, the window must rest 1 mm (0.040 in) below the surface of the sheet metal.


25. Press firmly around the entire periphery of the window in order to wet-out the urethane bead.
26. Tape the window to the body in order to minimize movement until the urethane adhesive cures.




27. Clean any excess urethane adhesive from the body.





Important: Do not direct a hard stream of high pressure water to the freshly applied urethane adhesive.


28. Use a soft spray of warm water in order to immediately water test the window.
29. Inspect the window for leaks.
30. If any leaks are found, use a plastic paddle in order to apply extra urethane adhesive at the leak point.
31. Retest the window for leaks.

Caution: Insufficient curing of urethane adhesive may allow unrestrained occupants to be ejected from the vehicle resulting in personal injury.

* For the moisture-curing type of urethane adhesive, allow a minimum of 6 hours at 21�C (70�F) or greater and with at least 30 percent relative humidity. Allow at least 24 hours for the complete curing of the urethane adhesive.
* For the chemical-curing type of urethane adhesive, allow a minimum of 1 hour .

Do NOT physically disturb the repair area until after these minimum times have elapsed.

32. Maintain the following conditions in order to properly cure the urethane adhesive:

* Partially lower a door window in order to prevent pressure buildups when closing doors before the urethane adhesive cures.
* Do not drive the vehicle until the urethane adhesive is cured. Refer to the above curing times.
* Do not use compressed air in order to dry the urethane adhesive.

33. Complete the window installation.