Curiosii for ever!: Car repair manuals for everyone.

Engine Support Fixture



Engine Support Fixture

Tools Required

* J 28467-34 Lift Hook Wing Nut and Washer (2)
* J 28467-6A Bracket Assembly (2)
* J 28467-7A Bolt Hook (2)
* J 28467-500 Engine Support Fixture
* J 28467-B Universal Engine Support Fixture
* J 45057 Engine Support Bar Assembly

Installation Procedure

1. Remove the right engine mount strut.




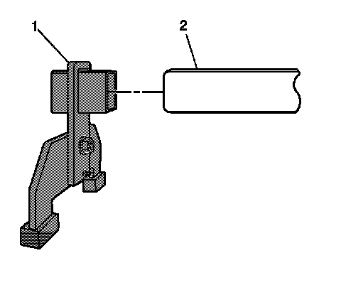
2. Install the J 45057 to the right engine mount strut bracket (1).




3. Install the J 45057 to the left side engine lift bracket.




4. Install the J 45057 to the right rear engine lift bracket.
5. Open and secure the hood in a 90 degree position.




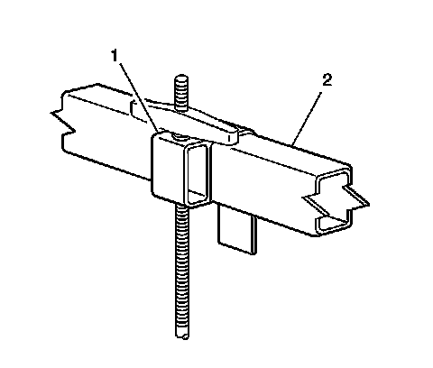
6. Install a J 28467-B and retention pin to each end of the J 28467-500 beam (2).




7. Position the J 28467-B to the left and right side inner fender rails in order to install the J 28467-500.




8. Assemble the following to create 2 lift hook assemblies as shown:
^ J 28467-34
^ J 28467-6A
^ J 28467-7A




9. Install the 2 lift hook assemblies (1) to the J 45057-2 (2).




10. Install the right side lift hook assembly to the right side hole in the J 45057 (2).




11. Install the left side lift hook assembly to the left side hole in the J 45057 (2).
12. Gently tighten the J 28467-34 lift hook wing nuts.
13. Raise and support the vehicle.
14. Remove the lower air baffle.
15. Install one end of a suitable utility strap to the transaxle.
^ If the vehicle is equipped with All Wheel Drive (AWD), carefully wrap the utility strap around the transfer case.
^ If the vehicle is equipped with Front Wheel Drive (FWD), carefully wrap the utility strap around the transaxle case extension housing.
16. Install the opposite end of the utility strap to a suitable underbody structure.
17. Tighten the utility strap in order to prevent movement of the powertrain.