Curiosii for ever!: Car repair manuals for everyone.

Underhood Fuse Block



Electrical Center Identification Views

Fuse Block - Underhood Top View






Fuse Block - Underhood Bottom View






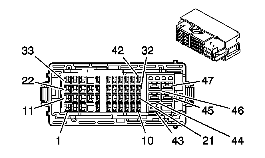
Fuse Block - Underhood C1









Fuse Block - Underhood C1 (Pin 1 To 16):





Fuse Block - Underhood C1 (Pin 17 To 47):






Fuse Block - Underhood C2









Fuse Block - Underhood C2 (Pin 1 To 14):





Fuse Block - Underhood C2 (Pin 15 To A-C):






Fuse Block - Underhood C3









Fuse Block - Underhood C3 (Pin 1 To pin 45):





Fuse Block - Underhood C3 (Pin 46 Tp 47):